Home >> Application >> By Standard >> ISO >> ISO 5000~9999 >> ISO 7206-4, ISO 7206-6: Fatigue testing of femoral stem and femoral neck of hip prostheses

ISO 7206-4, ISO 7206-6: Fatigue testing of femoral stem and femoral neck of hip prostheses

Share:

ISO 7206-4 Implants for surgery -- Partial and total hip joint prostheses -- Part 4: Determination of endurance properties and performance of stemmed femoral components;

ISO 7206-6 Implants for surgery -- Partial and total hip joint prostheses -- Part 6: Endurance properties testing and performance requirements of neck region of stemmed femoral components;


ISO 7206‑4:2010 and ISO 7206‑6:2013 are key international standards defining fatigue endurance tests for stemmed femoral components of partial and total hip joint prostheses. ISO 7206‑4 evaluates the femoral stem under simulated proximal loosening; ISO 7206‑6 evaluates the femoral neck under well‑fixed, normal in‑vivo loading. 


Test Principles: 

ISO 7206‑4 

Stemmed femoral fatigue

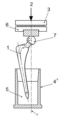
The lower portion of the test specimen is embedded in a solid medium and a cyclic load is applied to the head of the test specimen to produce axial compression, two-plane bending and torsion until the specimen exhibits failure or until the prescribed number of cycles has been attained. The specimen is subsequently examined for defects caused by the loading regime.
  • Simulates dynamic loading during walking with a proximally loosened implant (worst‑case clinical scenario).

  • Cyclic axial load is applied through the femoral head, inducing compression, bending, and torsion on the stem.

  • Target: Verify stem survival for 5 million cycles without failure.

ISO 7206-4, ISO 7206-6: Fatigue testing of femoral stem and femoral neck of hip prostheses
ISO 7206‑6

Femoral neck fatigue

The test specimen is embedded in a solid medium. For modular stems, the protruding part of the test specimen is immersed in a fluid test medium. A cyclic load is applied to the head of the test specimen until one of the stipulated conditions occurs.
  • Simulates normal gait loading on a well‑integrated/osseointegrated stem.

  • Cyclic load targets the neck region, inducing high bending and tensile stresses.

  • Goal: Verify neck survival for 10 million cycles without failure.

ISO 7206-4, ISO 7206-6: Fatigue testing of femoral stem and femoral neck of hip prostheses


ISO 7206-4, ISO 7206-6: Fatigue testing of femoral stem and femoral neck of hip prostheses Test Equipment

Equipment TypeSpecific Requirements
Fatigue testing machineServohydraulic or electromechanical, capable of sinusoidal loading, load accuracy ±2%, max frequency 1~ 30 Hz, load capacity ≥5 kN;
Load cellAccuracy class 0.5, suitable for cyclic loading
Specimen holder and embedding medium

Have a construction and dimensions to suit the testing machine and test specimens;
Rigid, low‑creep casting resin (e.g., epoxy).

ISO 7206-4, ISO 7206-6: Fatigue testing of femoral stem and femoral neck of hip prostheses

Test fixture

Custom jigs for precise specimen alignment. 

Device for gripping the head of the test specimen

which retains the specimen in the orientation during embedding. An example of a suitable device to grip the head of the specimen is shown in Figure.

ISO 7206-4, ISO 7206-6: Fatigue testing of femoral stem and femoral neck of hip prostheses

Environmental chamber (fluid container) 

To simulate body temperature (37°C) and Ringer’s solution for in vitro testing.

For tests on modular stemmed femoral components where the container surrounds the test specimen and contains the test fluid together with means of heating and aerating it.


Test Specimen:


Quantity: Minimum 6 identical specimens per test batch.

Type: Stemmed femoral components (modular or non‑modular, metallic/non‑metallic)ISO.

Preparation:

Lower stem embedded in casting resin at a specified angle to simulate proximal loosening (ISO 7206‑4) or well‑fixed alignment (ISO 7206‑6).

Modular designs: Assembled per manufacturer’s instructions; neck/head junction fully engaged.


ISO 7206-4, ISO 7206-6 Test method: 

1, Key Test Parameters
ParameterISO 7206-4ISO 7206-6
Maximum Load (Fₘₐₓ)2300N5340N
Minimum Load (Fₘᵢₙ)200~300N500~600N
Cycles5,000,00010,000,000
Frequency1-30 Hz (±2% load control)1-30 Hz (modular ≤ 5Hz)
Environment37 °C fluid bath37 °C fluid bath
2, Test procedures: 
Step 1: Specimen Preparation

Embed the distal stem in casting resin, aligning per standard geometry. (loosened for ISO 7206‑4, well‑fixed for ISO 7206‑6). 

Cure resin; mount assembly in test machine.

Submerge in 37 °C fluid bath.

Step 2: Load ApplicationApply sinusoidal cyclic axial load through the femoral head.

Maintain load accuracy (±2%) and frequency within specified ranges.

Monitor vertical displacement; stop test if deformation exceeds 5 mm (ISO 7206-4) or 3mm (ISO 7206-6). 

Step 3: Test Termination Criteria

(stop at any one of below)

1, Specimen fracture (stem for ISO 7206‑4; neck for ISO 7206‑6).

2, Vertical displacement > 5 mm (ISO 7206-4) or 3mm (ISO 7206-6).

3, Completion of target cycles 5M (ISO 7206-4)  / 10M (ISO 7206-6).

4, Loss of load control.

Step 4: Post‑Test Evaluation

Visually inspect for cracks, deformation, or failure.

For non-fractured specimens: Remove embedding medium to confirm no internal damage.

Report cycle count, failure mode, and displacement data.


Test Application: 

Regulatory Compliance: Mandatory for CE marking, FDA clearance, and global market approval of hip stems.

Product Development: Validate new stem/neck designs, materials (e.g., Ti‑6Al‑4V, Co‑Cr alloys), and surface treatments.

Quality Control: Batch verification of manufacturing consistency.

Clinical Safety: Predict in‑vivo performance and prevent catastrophic failure (e.g., stem/neck fracture) in patients.


Related Standards: 
ASTM F2068Similar in scope to ISO 7206-4/6. Standard specification for hip implant materials and testing (often referenced for higher cycle validation). 
ISO 4965Calibration of axial fatigue testing machines (force accuracy).
YY/T 0809.4 / YY/T 0809.6Chinese equivalents (identical to ISO 7206‑4/6).
ISO 7206-8
Hip Joint Replacement Torsion Testing, endurance properties of stemmed femoral components
ISO 7206-10Implants for surgery -- Partial and total hip-joint prostheses -- Part 10: Determination of resistance to static load of modular femoral heads.
ISO 7206-12Implants for surgery -- Partial and total hip joint prostheses -- Part 12: Deformation test method for acetabular shells
ISO 7206-13Implants for surgery -- Partial and total hip joint prostheses -- Part 13: Determination of resistance to torque of head fixation of stemmed femoral components



Test Importance for Spine Devices: 

Safety Assurance: Fatigue testing simulates decades of cyclic loading (5M ≈ 5 years; 10M ≈ 10+ years of walking) to prevent in‑vivo fracture.

Material Validation: Confirms biocompatible metals (Ti‑6Al‑4V, Co‑Cr) and alloys resist fatigue crack initiation/propagation under physiological stress.

Design Optimization: Identifies weak points (e.g., stem taper, neck radius) to improve geometry and load distribution.

Regulatory & Clinical Trust: Establishes a global benchmark for durability, ensuring implants meet consistent safety standards worldwide.

Longevity: Validates that materials withstand corrosion‑fatigue and creep in the body’s fluid environment, ensuring long‑term performance.

Related products and device

ISO 7206-4, ISO 7206-6 Femoral stem and femoral neck Fatigue testing machine

Cyclic Fatigue Testing machine of Artificial Hip Implant Prostheses is designed according standard ISO 7206, ASTM F2068, used to measure the durability of the metaphyseal bone components of hip implants.

Screws testing machine Driving Torque Insertion and Removal Test

Screw fatigue tester is a multi-functional composite test equipment according customer different test requirements, which can be used for screw rotary torque testing, self-tapping testing and other bone screw-related performance tests.

Bone nails Pull-out tester, tensile tester

A single column tensile tester is a sophisticated material testing instrument designed for measuring mechanical properties of various materials under tension, compression, bending, shear, and other loading conditions. As the name suggests, it features a single vertical column supporting a moving crosshead that applies force to test specimens.

Bone Screws Torsion Torque Tester

Torsion tester is mainly used to execute torsion test for various kinds materials, manual loading, high accuracy torsion transducer to measure torque, photoelectric encoder to measure torsion angle, digital display test result. Easy to operate and with budgetary price, most suitable for research institute and colleague, factory laboratory etc. to check the torsion character of different materials.

Related Standard

ISO 7206-10 Femoral Head Static Compression and Tensile test

ISO 7206-10: Implants for surgery --Partial and total hip joint prostheses -- Part 10: Determination of resistance to static load of modular femoral heads. 


It specifies a method for determining the static load resistance of the connection between a modular femoral head and a tapered cone of a femoral stem (the "head/cone junction") in hip joint prostheses. Include static compression (fracture) and tensile (disassembly) tests to quantify the load capacity of modular femoral heads with conical taper (Morse taper) connections. 


ASTM F2068 Fatigue test system of Femoral Prostheses Implants, Hip Implants Testing

ASTM F2068: Standard Specification for Femoral Prostheses – Metallic Implants


ASTM F2068 covers metallic stemmed femoral prostheses used to replace the natural hip joint by means of hemi-arthroplasty or total hip surgical procedures. Prostheses for hemi-arthroplasty are intended to articulate with the natural acetabulum of the patient. Prostheses for total hip replacement are intended to articulate with prosthetic acetabular cups. Prostheses may have integral femoral heads or cones designed to accept modular heads. 

The mechanical strength (fatigue test ISO 7206-4, ISO 7206-6, shear strength test ASTM F1044, tensile test ASTM F1147, abrasion resistance test ASTM F1978), corrosion resistance, and biocompatibility of the head portions of one-piece integral implants are covered by this specification.

ISO 11491 Impact Resistance of Ceramic Femoral Heads for hip joint prostheses

ISO 11491: Implants for surgery -- Determination of impact resistance of ceramic femoral heads for hip joint prostheses. It defines two standardized impact test methods to evaluate the ability of ceramic femoral heads to resist fracture under impact loading.


Hip prostheses are a common medical device used to treat hip diseases and injuries. Ceramic femoral head is an important component in hip prostheses, which has excellent biocompatibility and mechanical properties, so it is widely used in clinical practice. However, due to its brittleness and fragility, ceramic femoral heads are prone to cracking and breaking during use, affecting the lifespan and safety of the prosthesis. Therefore, it is necessary to evaluate and test the impact resistance of ceramic femoral heads.


The ISO 11491 standard specifies a test method for determining the impact resistance of ceramic femoral heads. This test method is based on impact testing, which evaluates the impact resistance of ceramic femoral heads by measuring the failure of them at a certain impact energy. 


ISO 7206-8 Hip Joint Replacement Torsion Testing, endurance properties of stemmed femoral components

ISO 7206-8: Implants for surgery -- Partial and total hip joint prostheses -- Part 8: Endurance performance of stemmed femoral components with application of torsion. 


ISO 7206-8 standard as a series of test methods capable of effectively evaluating the endurance performance of stemmed femoral components designed for total and partial hip joint prosthesis. The standard allows experts to subject test specimens to loading conditions that mirror those seen in real conditions when patients use their hip joint prosthesis. The standard’s objective is to determine if hip implants perform as expected, ensuring their functionality and safety will be reliable for the patients who depend on them.


ISO 6475 Bone Screw Torsion Breaking Torque Test Methods

ISO 6475 Implants for surgery — Metal bone screws with asymmetrical thread and spherical under-surface — Mechanical requirements and test methods

ISO 6475 specifies mechanical test methods for determining breaking torque and rotation angle at failure of metal bone screws with asymmetrical threads and spherical under-surfaces, along with minimum mechanical requirements for stainless steel screws in Annex A. It is critical for validating torsional integrity to prevent intraoperative/surgical failure and ensure regulatory compliance.

ASTM F543 Metallic Medical Bone Screws Test Driving Torque, Pullout Load Self-Tapping

ASTM F543 Standard Specification and Test Methods for Metallic Medical Bone Screws


ASTM F543 is a testing standard used in the biomedical industry that defines specifications for metallic medical bone screws. Bone screws are used in surgical procedures for securing implants, osteosynthesis devices, and fracture fixation plates to the skeletal system. In normal clinical use, a surgeon applies combined axial and torsional forces to implant a bone screw into the body. Bone screws are designated Class 2 FDA devices, requiring significant testing and analysis  of mechanical properties prior to approval and release. It provides requirements for materials, finish and marking, care and handling, and the acceptable dimensions and tolerances for metallic bone screws that are implanted into bone. The dimensions and tolerances in this specification are applicable only to metallic bone screws described in this specification.

ISO 16402 Acrylic resin cement Flexural fatigue testing

ISO 16402:2008, Implants for Surgery - Acrylic Resin Cement - Flexural Fatigue Testing of Acrylic Resin Cements Used in Orthopaedics, is an international standard dedicated to testing the flexural performance of acrylic resin bone cement applied in orthopedic surgeries. It plays a critical role in ensuring the long-term mechanical stability of bone cement, which is essential for the success of orthopedic implants.

Bone Cement Four-Point Bending Fatigue Test is primarily used to evaluate the fatigue performance of bone cement materials under four-point bending conditions. Specifically, it can conduct mechanical performance tests, such as fatigue durability and lifespan, on specimens of bone cement, biomaterials, surgical implant materials, and medical materials. By simulating real-world stress conditions, the tester assesses the bending strength, fatigue life, deformation characteristics, and performance of bone cement under various environmental conditions. These test results are crucial for ensuring the reliability and safety of bone cement in practical applications, aiding in product design optimization, production process improvement, and overall product quality enhancement. 

ISO 14879-1 Fatigue test of metallic tibial trays of total knee joint replacement system

ISO 14879 - 1 is a core international standard formulated by the International Organization for Standardization (ISO) for the mechanical performance evaluation of metallic tibial trays in total knee replacements (TKR). The standard covers two major types of tests: static mechanical testing (to evaluate the ultimate load - bearing capacity and stiffness of the tibial tray) and cyclic fatigue testing (to simulate long - term physiological loading and assess durability).

FAQs: ISO 7206-4 & ISO 7206-6 Fatigue Testing for Hip Implants

Q1: What's the main difference between ISO 7206-4 and ISO 7206-6?

A: The key difference is the location of the stress being tested:

ISO 7206-4 tests the fatigue endurance of the femoral stem itself. It loads the head axially with the stem angled, causing bending stresses along the stem's length.

ISO 7206-6 specifically targets the fatigue strength of the neck region. It applies load at a more severe angle to create maximum bending moment at the neck, which is often the thinnest and most highly stressed part.



Q2: What happens if a device fails this test during development?

A: A failure indicates a potential weakness in the material, manufacturing process (e.g., porosity, surface finish), or geometric design. The design team must then investigate the root cause (e.g., using microscopy on the fracture surface) and implement changes—such as modifying the neck thickness, using a stronger alloy, or improving the manufacturing method—before retesting. It is a critical iterative design and validation tool.


Q3: The test runs for 5 million cycles. What does that represent in real life?

A: 5 million cycles is a common benchmark representing approximately 5-7 years of normal walking activity (assuming ~1 million steps/year). For more active patients or for higher safety factors, testing may be conducted at higher load levels or for 10 million cycles.



Q4: Is passing this test enough for regulatory approval (like FDA or CE)?

A: Passing is a mandatory prerequisite, but it is not the only requirement. Regulatory submissions require a full battery of tests including wear testing (ISO 14242), corrosion testing, biocompatibility evaluations (ISO 10993), and clinical data. The fatigue test report is a cornerstone of the mechanical validation dossier.


Q5: How do these ISO standards relate to ASTM standards?

A: They are technically similar and often harmonized. ASTM F2068 is the comparable standard for fatigue testing of femoral stems. Manufacturers targeting global markets typically design their testing to satisfy both ISO and ASTM requirements. The specific loading angles or details may differ slightly, so test plans must be carefully aligned.


Q6: Can these tests be used for all hip implant materials?

A: Yes, but the pass/fail criteria and expected performance levels are material-dependent. The tests are applicable to metallic stems made from Titanium alloys, Cobalt-Chromium alloys, and Stainless Steel. The test load levels are set based on the material's known or expected fatigue strength and the implant's design.


Q7: Why test at 37 °C?

A: To simulate the human body environment.

Material and implant fatigue behavior can change at body temperature, so testing must be physiological.

< Previous: ISO 7141 Radial double hammer impact testing for Light alloy wheels Lateral impact test

> Next: ISO 7206-8 Hip Joint Replacement Torsion Testing, endurance properties of stemmed femoral components

Require More Customized Solutions?

We offer customization to meet your specific needs. Our expert team will collaborate with you to develop the perfect product for you
Customize Now

Beijing United Test Co., Ltd.