Information on the most widely used ASTM standards within the materials testing industry
ISO 6475 specifies mechanical test methods for determining breaking torque and rotation angle at failure of metal bone screws with asymmetrical threads and spherical under-surfaces, along with minimum mechanical requirements for stainless steel screws in Annex AISO. It is critical for validating torsional integrity to prevent intraoperative/surgical failure and ensure regulatory compliance.
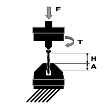
ISO 6475 Test Principle
The test applies controlled, uniform torque to the screw head while clamping the shank to simulate in vivo torsional loads during insertion, fixation, or removal. It measures the maximum torque (breaking torque) the screw can withstand before fracture and the corresponding rotation angle at failure, ensuring the screw meets minimum mechanical thresholds for safe clinical use.
| Parameter | Requirements |
|---|---|
| Type | Metal bone screws with asymmetrical thread and spherical under-surface (matches ISO 5835 dimensions). |
| Material | Primarily stainless steel per ISO 5832-1; data for other materials (e.g., Ti alloys) are not fully specified in the 1989 edition. |
| Dimensions | Must comply with ISO 5835 (thread, head, shank, length). |
| Sample Size | Sufficient quantity to ensure statistical validity (typically ≥5 screws per lot).
|
| Preparation | No surface damage; 5 full threads exposed from thread run-out after clamping to avoid stress concentration. |
| Component | Specifications |
|---|---|
| Torsion Test Machine | Torque capacity: recommend 20Nm. Minimum sensitivity: 0.01 N·m on the lowest range; ≤1% full-scale error on other ranges; Records maximum torque and rotation angle at failure; Angular velocity: 1–5 rpm (uniform); Prevents “cam-out” of the driver from the screw head (e.g., anti-slip driver bits, vertical clamping). |
| Clamping Fixture | Rigidly secures the screw shank (no movement) with coaxial alignment of the screw and torque applicator. |
| Test Block | Dense material (e.g., PMMA, rigid foam per ASTM F1839) to simulate bone; designed to expose 5 full threads from thread run-out |
| Torque/Angle Sensors | High-precision transducers to capture peak torque and rotational displacement in real time. |
Test proceure:
ISO 6475 torsion test is simple, by testing the fracture torque, maximum torsion angle, and other parameters of the screw under torsional load, it can be determined whether it can withstand the twisting forces during surgical operations and postoperative physiological activities.

1, Insert the screw into a test block.
2, Using a torque wrench or torsion machine, apply torque to the screw head at a specified rate.
3, Continue applying torque until the threads strip or the screw fails.
4, Record the maximum torque achieved.
| Standard | Purpose | Relationship |
|---|---|---|
| ISO 5835 | Defines dimensional specifications for metal bone screws (thread, head, shank) | Mandatory for specimen dimensions; ISO 6475 assumes compliance with ISO 5835 |
| ISO 5832-1 | Specifies stainless steel (e.g., 316L) for surgical implants | Material reference for Annex A’s mechanical requirement |
| ASTM F543 | Covers pullout, driving torque, and self-tapping tests | Complements ISO 6475 by addressing non-torsional mechanical properties |
| ISO 10993 Series | Biological evaluation (cytotoxicity, corrosion) | Addresses biocompatibility not covered by ISO 6475 |
| ISO 13485 | Quality management systems for medical devices | Ensures consistent test execution and traceability |
Why the Test is Important for the Bone Screw:
These tests are critically important for several reasons:
Patient Safety: A screw that breaks during insertion or in service can cause severe harm, requiring revision surgery. The tests ensure the screw has sufficient strength to be safe.
Performance Validation: A screw that pulls out of the bone is ineffective. The tests validate that the screw can provide stable fixation for bone healing.
Regulatory Compliance: Manufacturers cannot legally sell a bone screw without demonstrating that it meets the performance criteria set by regulatory bodies, which are based on these standards.
Design and Material Selection: The test results provide essential feedback to engineers, allowing them to optimize screw designs and select appropriate materials.
Standardization and Comparison: The standard creates a level playing field, allowing surgeons and purchasers to compare the mechanical performance of screws from different manufacturers with confidence.
ISO 6475 Bone Screw Torsion Test Report (Actual)
Test Date: 2026-01-15
Equipment: UnitedTest Torsion Testing Machine (Model: NJS-20, Calibrated: 2025-12-10)
Specimen: Stainless steel cortical bone screws (ISO 5835 compliant, Ø4.5×30mm, ISO 5832-1 material)
Sample No.: BS-260127-01 to 05
Test Speed: 3 rpm (ISO 6475 specified 1-5 rpm)
Clamping: 5 full threads exposed, coaxial alignment
Results: Avg. breaking torque: 12.8 N·m; Avg. rotation angle at failure: 42.5°; All samples fractured at shank (no thread stripping)
Conclusion: Meets ISO 6475 Annex A minimum mechanical requirements (≥10.5 N·m breaking torque)
Related products and device
Related Standard
ASTM F543 Standard Specification and Test Methods for Metallic Medical Bone Screws
ASTM F543 is a testing standard used in the biomedical industry that defines specifications for metallic medical bone screws. Bone screws are used in surgical procedures for securing implants, osteosynthesis devices, and fracture fixation plates to the skeletal system. In normal clinical use, a surgeon applies combined axial and torsional forces to implant a bone screw into the body. Bone screws are designated Class 2 FDA devices, requiring significant testing and analysis of mechanical properties prior to approval and release. It provides requirements for materials, finish and marking, care and handling, and the acceptable dimensions and tolerances for metallic bone screws that are implanted into bone. The dimensions and tolerances in this specification are applicable only to metallic bone screws described in this specification.
Require More Customized Solutions?