Home >> Application >> By Standard >> ISO >> ISO 1 ~ 4999 >> ISO 3341 Tensile Test of Textile Glass Yarn

ISO 3341 Tensile Test of Textile Glass Yarn

Share:

ISO 3341:2000 Textile glass — Yarns — Determination of breaking force and breaking elongation


ISO 3341 specifies a method for the determination of the tensile breaking force and elongation at break of glass yarns taken from packages.

The method is applicable to various types of glass yarn (single, folded, cabled, strands, structures without twist, rovings, etc.). It is basically intended for single, folded and cabled glass yarns having a diameter of less than 2 mm, or a linear density lower than 2000 tex, taken from packages.  This test is applicable to various types of glass yarn (single, folded, cabled, strands, structures without twist, rovings, etc.). It is basically intended for single, folded and cabled glass yarns having a diameter of less than 2 mm, or a linear density lower than 2000 tex, taken from packages. 

ISO 3341 Tensile Test of Textile Glass YarnISO 3341 Tensile Test of Textile Glass Yarn


ISO 3341 Test principle and test methods:

The test principle involves clamping a specified length of yarn (the gauge length) between two clamps of a tensile testing machine. A constant rate of extension (CRE) is applied until the yarn breaks. The maximum force recorded is the breaking force, and the increase in length at the point of break is the elongation at break.


Test method:

ISO 3341 defines a constant-rate-of-extension (CRE) tensile test to determine two core properties of glass yarns:

Breaking Force (Fₙ): The maximum tensile force required to rupture the yarn specimen, expressed in Newtons (N).

Breaking Elongation (εₙ): The percentage increase in the specimen's gauge length at the moment of rupture.

Breaking Strength: Derived as breaking force per unit linear density (N/tex). 


Test equipment required for ISO 3341 textile flass yarn: 

Universal Testing Machine

Recommend UnitedTest tensile testing machine with a constant extension rate of 200 mm/min ± 20 mm/min.

It must measure force and elongation accurately and record the force-elongation curve until specimen failure.

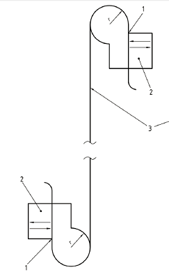
Capstan Bollard Grips

Preferred for glass yarns to minimize stress concentration and slippage. The yarn is wound around a cylindrical drum to distribute tension.

ISO 3341 Tensile Test of Textile Glass Yarn

Pneumatic or Mechanical Flat GripsOptional


Test Specimen Information: 

Material: Glass yarns (single, folded, cabled, strands, rovings, untwisted structures)ISO.

Size: Primarily for yarns with diameter < 2 mm or linear density < 2000 texISO. Heavier yarns are testable with mutually agreed conditionsISO.

Gauge Length: Standard gauge length is 500 mm. 

Quantity: A minimum of 10 valid specimens per test lot for statistical reliability.

For radius clamp fixture, radius r should between 12mm to 25mm for yarns linear density lower than 500 tex, radius r should between 25mm to 45mm for yarns linear density higher than 500 tex.


ISO 3341 Tensile Test Procedure: 

Generally: Tensile testing machine execute a constant rate of extension of 200 mm/min +- 20 mm/min. The machine shall be capable of stressing the sample until failure occurs. 

If the test machine has a pre-tensioning capability, a pre-tension force of 5 mN/tex +- 22.5 mN/tex shall be applied to the specimen. 


Conditioning: Place yarn packages in the standard atmosphere until equilibrium is reached.

Specimen Preparation:Unwind yarn from the package, discarding the outer layers to avoid surface damage.

Cut specimens to the required length (allowing for grip engagement).

Handle specimens carefully to avoid kinking, abrasion, or contamination.

Pre-tension Application: Mount the specimen in the grips and apply the specified pre-tension (5 mN/tex) to set the gauge length and remove slack.

Tensile Testing:

Start the UTM at 200 mm/min.

Continue loading until the specimen ruptures.

Record the breaking force and the corresponding elongation at break.

Data Calculation:

Calculate Breaking Elongation (%): (Elongation at Break / Gauge Length) × 100.

Calculate Breaking Strength (N/tex): Breaking Force / Linear Density (tex).

ISO 3341 Tensile Test of Textile Glass Yarn

Example of clamps from standard 


Related standard: 

ISO 2062Textiles; yarns from packages; determination of single-end breaking force and elongation at break
ASTM D2256Standard Test Method for Tensile Properties of Yarns by the Single-Strand Method
AS 2001.2.7METHODS OF TEST FOR TEXTILES - PHYSICAL TESTS - DETERMINATION OF BREAKING FORCE AND EXTENSION OF YARNS
ISO 3342Textile glass - Mats - Determination of tensile breaking force


Related products and device

ISO 3341 Yarn Tensile Universal Testing machine

WDW Series Computer Control Electronic Universal Testing Machine made by UNITEDTEST range from 100N to 600KN load capacity with various models like single columns, table type, door frame type etc., is used to perform tension, compression, flexure/bending, shearing, peeling etc., test for metal and nonmetal specimens.

ISO 3341 textile yarn snbbing and capstan tensile test fixture

Snubbing and Capstan grips are all engineered to perform high strength tensile tests where the test samples are long compared to their cross-sectional area, such as wire, rope and strapping.

Related Standard

ASTM D2256 Thread and Yarn Tensile Testing of Single-Strand String

ASTM D2256 is the standard test method for tensile properties of yarns by the single-strand method. It is the predominant standard used in North America and is technically very similar to ISO 2062. It quantifies breaking force, elongation at break, and derived properties (tenacity, modulus, toughness) under diverse conditions, serving as a benchmark for quality control, product development, and material specification. 

ISO 2062 Textile tensile test: Breaking Force and Elongation of Yarns

ISO 2062 specifies the method for determining the breaking force and elongation at break of textile yarns (single, piled, or cabled) under a constant rate of extension (CRE). It is a fundamental tensile test for yarn quality control.  

The test operates on the principle of applying a constant rate of elongation to a single yarn specimen until it breaks:

A single yarn is securely clamped between two grips at a fixed gauge length.

The lower grip moves downward at a constant speed, stretching the yarn at a rate of 100% per minute of the gauge length.

The machine continuously records the force (load) applied and the corresponding elongation.

The test ends when the yarn breaks. The maximum force recorded is the breaking force, and the stretch at that point is the elongation at break (expressed as a percentage).

FAQs about ISO 3341 Textile Glass Yarn Test

Q1: Why is this yarn tensile test so important?

A: It is fundamental because yarn strength directly determines the durability, performance, and processability of the final textile. It ensures the yarn can withstand forces during weaving/knitting without breaking and guarantees the end product (from apparel to seatbelts) meets safety and quality requirements.


Q2: What is the most critical step in the test procedure?

A: Proper specimen conditioning (to standard temperature and humidity) and correct application of pre-tension are critical. Without these, the results for both breaking force and elongation will not be reliable or comparable.


Q3: Does this test predict fabric strength directly?

A: Not directly, but it is the primary input. Fabric strength depends on yarn strength, fabric structure (weave/knit), and density. Strong yarn is a prerequisite for strong fabric; this test identifies weak yarn before it enters the fabric production process.


Q4: What is the consequence of low yarn elongation at break?

A: Low elongation often indicates a brittle yarn. It can lead to poor shock absorption in the final fabric and more frequent breaks during high-speed mechanical processing like weaving, increasing downtime and defects.


Q5: What happens if glass yarn fails ISO 3341 requirements?

A: The yarn may cause weak or defective final products (composites, insulation, technical textiles), leading to failure in service or rejection in production.


Q6: Can ISO 3341 be used for twisted and untwisted yarns?

A: Yes, it covers both twisted and untwisted glass yarns, including rovings.


< Previous: ISO 3127 Plastics Pipe falling weight impact test

> Next: ISO 3501 Tensile Pull Out Test for Polyethylene Pipes

Require More Customized Solutions?

We offer customization to meet your specific needs. Our expert team will collaborate with you to develop the perfect product for you
Customize Now

Beijing United Test Co., Ltd.