Information on the most widely used ASTM standards within the materials testing industry
Model: UT1030HB (Electronic creep rupture test), ISO 204, ASTM E139
High Temperature Creep and Relaxation Testing Machine is designed as low
cost solutions for long-term creep and stress relaxation testing
applications of metallic and alloy materials under high temperature in
accordance with ASTM E139, BS, EN, ISO 204 and other similar international
testing standards.
General introduction
High Temperature Creep and Relaxation Testing Machine is designed as low cost solutions for long-term creep and stress relaxation testing applications of metallic and alloy materials under high temperature in accordance with ASTM E139, BS, EN, ISO 204 and other similar international testing standards. UNITEDTEST offers three models electronic high temperature creep-testing machine with full closed-loop servo-control in three capacities: 30kN, 50kN and 100kN. This machine equipped with high stability, high accuracy servo loading system, can test under 300~1350 ℃, 15000 hours long time creep testing for various kinds metal material.
Customer can also add optional stress corrosion test system.
Mainly used for high-temperature creep relaxation test, high-temperature durable test and high-temperature tensile test of metals, non-metals, composite materials and structural parts, etc., and can also be used for conventional tensile tests and low-frequency fatigue tests. It is a common equipment used by metallurgical departments, scientific research institutions, quality inspection departments, aerospace, vehicle manufacturing, machinery manufacturing, petrochemical, building materials, colleges and universities and related mining enterprises for material performance inspection and research.
Key Features
1),System is two levels control, adopt high accuracy digital intelligent temperature controller. Each set controller can control 5 sets furnace at same time. Each furnace has three temperature control point, three section temperature control, and compatible for different kinds of alloy thermocouple.
2), Automatic loading, can free setting test loading capacity and loading speed, with good capacity of resisting disturbance.
3), Each individual control system can be online control with main unit, also independent control, like parameter setting, modification. LCD meter can display load, loading rate, displacement, deformation, temperature, running time, and program. With fast up, fast down, slow up, slow down, stop, creep zero, load zero, coaxiality loading etc., function key.
4), Automatic rise temperature, hold temperature, loading timing control, automatic accumulate loading test time, automatic temperature control and regulating gradient, rising temperature rate control etc.,
5), Loading hint, loading time accumulative, increase load force hint, stop hint, and automatic stop. Automatic room temperature compensation.
6), Many kinds of alarm and protection function: sample deformation alarm, sample break alarm, Thermocouple broken circuit and short circuit alarm, exceed temperature range alarm, furnace temperature over upper limitation alarm, system malfunction alarm, power outage protection, test finish hint alarm function.
7), Friendly interface, three section control process temperature, curve independent display, cursor position data search. All operation is easy, and have remote maintenance function.
8), Various kinds“history record”and“test report” search methods, data can be export, print.
9), Multi-level user management authorization limitation
ASTM E139 Standard test methods for conducting creep, creep-rupture and stress-rupture test of metallic materials.
ISO 204 Metallic materials uniaxial creep testing in tension
ISO/R 206 Creep stress rupture testing of steel at elevated temperature.
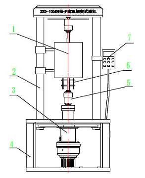
Main frame: consist of high temperature furnace, frame, leading screw loading system, bottom structure, connection rod, deformation measuring and extension structure, console.

Furnace structure: Spit atmosphere high temperature furnace.
Furnace dimension: Outer Diameter: φ320mm, Length: 460mm, ID: φ90
Three zone temperature control
Uniform temperature zone length: 100-150mm
Temperature range: Room tempt. ~ 1200℃

Main technical specification
| Load capacity | 50KN (0.4%--100%) |
| Load Accuracy | Class 0.5 |
| Load measuring resolution | 1N |
| Pulling speed | 0.001-100mm/min |
| Vertical daylight | 1200mm |
| Horizontal daylight | 500mm |
| Pulling rod stroke | 200mm |
| Deformation measuring | encoder |
| Deformation measuring range | 1~10mm |
| Deformation measuring accuracy | ±0.5% |
| Furnace range | φ320×460mm |
| Furnace ID | φ90mm |
| Working temperature | Room temperature ~ 1100 degree |
| Temperature accuracy | ±1℃ |
| Temperature resolution | 0.1℃ |
| Uniform temperature length | 100-250mm |
| Creep loading control | Imported servo system |
Main accessories (Standard delivery with machine)
| High Stiffness Frame | 1 set |
Servo driving system: (Japan YASKAWA) Servo motor: (Japan YASKAWA) | 1 set |
| Loadcell (50KN): USA Vishay Celtron | 1 set |
| Leading screw: (Korean Taijing Precision ball leading screw) | 1 set |
| Test fixture | 1 set |
| High temperature furnace | 1 set |
| Deformation encoder | 1 set |
| Computer (HP or LENOVO computer, 19-inch LCD monitor, English Win10 system) | 1 set |
| Printer (HP A4 color inkjet printer) | 1 set |
Standard
ISO 204 specifies the uniform, repeatable method for uniaxial tensile creep testing of metallic materials at elevated temperatures. It defines test requirements, apparatus, specimens, procedures, results, and reporting to characterize creep deformation and rupture behavior of metals under long-term thermal-mechanical loading.
ASTM E139: Standard Test Methods for Conducting Creep, Creep-Rupture, and Stress-Rupture Tests of Metallic Materials.
These test methods cover the determination of the amount of deformation as a function of time (creep test) and the measurement of the time for fracture to occur when sufficient force is present (rupture test) for materials when under constant tensile forces at constant temperature. It also includes the essential requirements for testing equipment. For information of assistance in determining the desirable number and duration of tests.
Require More Customized Solutions?