Information on the most widely used ASTM standards within the materials testing industry
Model: UT2061, ISO 10147, ASTM D2765
UT2061 Cross-linking determination test system is used as a test of EVA cross-linking, polyethylene (PE) cross-linking, polyethylene insulated wire and cable (XLPE) cross-linking, natural polymer ion cross-linking and polymer crystallinity of photovoltaic module packaging, and testing its flexibility, impact resistance, elasticity, optical transparency, low temperature winding, adhesion, environmental stress cracking resistance, weather resistance, chemical resistance, and heat sealing.
Standard: ISO 10147, ASTM D2765, JASO D611, IEC61215-2016, GB/T29848, GB T 18474, GB/T 9352.
Cross-linking test systems include: electronic balances, extraction units, drying units, fume hoods, exhaust units and other accessories.
General Introduction
UT2061 Cross-linking determination test system is used as a test of EVA cross-linking, polyethylene (PE) cross-linking, polyethylene insulated wire and cable (XLPE) cross-linking, natural polymer ion cross-linking and polymer crystallinity of photovoltaic module packaging, and testing its flexibility, impact resistance, elasticity, optical transparency, low temperature winding, adhesion, environmental stress cracking resistance, weather resistance, chemical resistance, and heat sealing.
Standard: ISO 10147, ASTM D2765, JASO D611, IEC61215-2016, GB/T29848, GB T 18474, GB/T 9352.
Cross-linking test systems include: electronic balances, extraction units, drying units, fume hoods, exhaust units and other accessories.

Key Features
This method is to determine the degree of cross-linking by measuring the gel content of the product, extracting the sample in the selected solvent according to the specified time and weighing its mass before and after extraction, and taking the mass percentage (that is, gel content) of the extracted and undissolved residue as the cross-linking degree of the sample.
ISO 10147:2011
pipes and fittings made of crosslinked polyethylene (PE-X) — Estimation of the degree of crosslinking by determination of the gel content
ASTM D2765-16
Standard Test Methods for Determination of Gel Content and Swell Ratio of Crosslinked Ethylene Plastics
JASO D611, IEC61215-2016, GB/T29848, GB T 18474, GB/T 9352.
Main Technical Specification
| 3.1, Electronic balance; |
| Range(g):0~120 |
| Minimum weight (g): 1/10000 |
| Readability (g): 0.0001 |
| Repeatability (g): ±0.0002 |
| Linearity error (g): ±0.0002 |
| Integration time(s): 2/4/8 |
| Operating temperature range (°C): 5-35°C |
| Pan size (mm): ¢80 |
| Dimension(mm):D 210*W280*H350 |
| Warm-up: 20-30min |
| Power supply: 220V±10c/o 50/60HZ |
| 3.2 Extraction device |
| 3.2.1 Heating device |
| 3.2.1.1 Main indicators |
| Size:250*260*210mm (DxWxH) |
| Capacity: 2000ml |
| Heating power: 800W |
| Temperature range: room temperature ~ 300°C |
| Power supply: 220V±10c/o 50/60HZ |
| 3.2.1.2 Heating system |
| Using high temperature resistant alkali-free glass fiber as the insulation material, the resistance wire of nickel network material is sealed in the insulation layer to make a hemispherical internal heating heater |
| 3.2.1.3 Control system |
| Controller: high-precision LED digital display P.I.D+SSR. Microcomputer integrated controller |
| Accuracy range: |
| Setting accuracy: temperature 0.1°C; |
| Indication accuracy: temperature 0.1°C; |
| Resolution: Temperature 0.1°C |
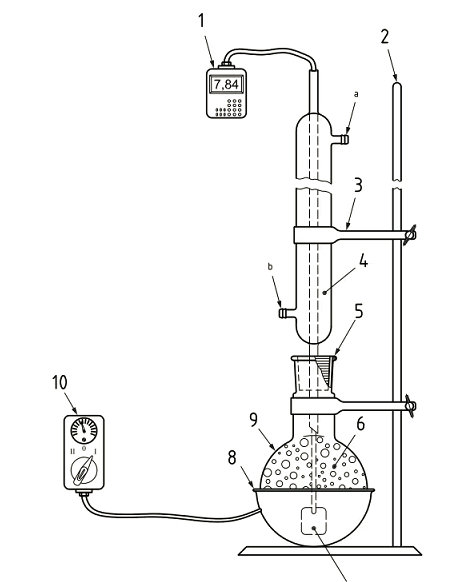
| 3.2.2 flask (500mL is appropriate for 1~2 samples; If 2~3 samples are measured, 1000mL is appropriate; If you perform several but not more than 6, a 2000mL flask is more suitable) |
| Name: Five round bottom flask |
| Material: quartz glass |
| Specification: 2000ml/24*4mm |
| Error: ±1ml |
| High temperature resistance: 600~800 °C; High transparency |
| 3.2.3 Reflow condenser and extractor (spherical) |
| Material: quartz glass |
| Size:H400mm*24.24mm |
3.3 Drying device |
| 3.3.1 Drying oven |
| 3.3.1.1 Important indicators |
| Size:300*300*275mm DxWxH |
| Temperature range(°C): RT+10~180°C |
| Temperature fluctuation (°C): ±0.5°C |
| Vacuum level (pa): < 133 |
| Time range: 0~9999H adjustable |
| Power supply voltage: AC220V± 10c/o 50/60HZ |
| Installation power: 1400W |
2.3.1.2 Box structure and materialThe shape of the vacuum drying oven is horizontal, and the studio material is made of stainless steel plate or high-quality steel plate, and the shape is square. The outer box is made of 08F high-quality steel plate spraying, and the inner tank is CNC machined by SUS304 high-quality stainless steel plate to fill the middle heat insulation layer of ultra-fine glass wool. The door adopts a single-layer glass door, and the inner layer is explosion-proof tempered glass of 12mm or more.A heat-resistant silicone rubber sealing ring is installed between the working room and the outer door to ensure the sealing of the door and the working room, and greatly improve the vacuum of the box. The sample separator is made of two stainless steel mesh plates. The heater is placed directly at the bottom of the studio using electric heating tubesAll control operating parts, instruments, valves, handles are installed on the left panel of the box, easy to use, the thermometer set temperature and the actual temperature are digital display, with tracking alarm function, with accurate temperature control, high precision and other advantages. |
| 3.3.2 Drying dishes |
| Diameter: ¢180mm*H180mm |
| Desiccant: blue silica gel color-changing desiccant |
3.4 Fume hood (water-containing device)All-steel structure, The countertop is 12mm thick imported veneer physical and chemical board, double-sided adhesive pressing, 24-hour high temperature setting. The frame is welded by domestic substantial high-quality square steel 40X60X2m, pickled, phosphated, and coated with external epoxy resin high-pressure electrostatic powder, and the color is light gray. The substrate adopts high-quality environmentally friendly MDF, PVC hot melt edge banding, acid and alkali resistance.The perimeter adopts 2mm PVC edge sealing waterproof treatment. The frame is made of 18mm thick high-quality melamine MDF. Drawer surface, counter surface with imported fireproof board or melamine veneer, PVC hot melt edge sealing, fireproof and waterproof. |
| Transparent window: tempered glass, height can be adjusted arbitrarily |
| Built-in lighting: LED light source, power 30W |
| Overall size: 850*1500*2350mm(DxWxH) |
| Sink size: 200*100*150mm (DxWxH) |
| 3.5 Exhaust device |
| 3.5.1 Built-in exhaust fan, anti-corrosion, explosion-proof and high temperature resistance |
| Power: 0.25KW |
| Speed: 1450 |
| Exhaust speed: ≥10.1m/s |
| Exhaust air volume: ≥1650m³/h |
| Noise: ≤65db |
| 3.5.2 Adopt 250mm diameter PVC exhaust pipe with wall thickness of 3.8mm or double-layer thickened PVC composite telescopic exhaust hose with diameter 250mm, which has the characteristics of high temperature resistance, not easy to age and is easy to install |
| 3.6 Other instrument accessories |
| 3.6.1 Grinding stopper or cork with five-mouth flask bottle mouth and glass condenser mouth size standard |
| 3.6.2 Stainless steel mesh |
| Material: stainless steel wire |
| Weaving process: plain weave |
| Mesh: 120 mesh |
| Wire diameter: 0.08mm |
| 2.6.3 Bracket |
| Name: Square seat bracket |
| Specifications: span 0-600mm |
| Material: J1102 cast iron paint |
Main accessories
| Item | Quantity |
| Cross-linking test cabinet complete cabinet | 1 set |
| Vacuum drying oven | 1 set |
| Extraction device | 2 set |
| Electronic balance | 1 set |
| Versatile experimental scaffold | 2 set |
| Stainless steel wire mesh | 2m |
| wire | 500g |
| Latex hose | 6m |
| Drying dishes | 1 set |
| Exhaust fan | 1 set |
| Stainless steel square disc | 1 pc |
| Documents (Manual, packing list, certificate) | |
Require More Customized Solutions?