Information on the most widely used ASTM standards within the materials testing industry
ASTM F1473 Notch Tensile Test for Resistance to Slow Crack Growth of Polyethylene Pipes and Resins
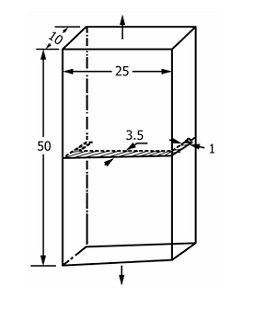
Notch Tensile Test Fixture for Resistance to Slow Crack Growth of Polyethylene Pipes and Resins is follow the standard ASTM F1473,
which aligns the grips and the specimen when the specimen is being
tightened in the grips. Alignment jigs which produce the same function
may be used.
General introduction
Notch Tensile Test Fixture for Resistance to Slow Crack Growth of Polyethylene Pipes and Resins is follow the standard ASTM F1473, which aligns the grips and the specimen when the specimen is being tightened in the grips. Alignment jigs which produce the same function may be used.
Sample:

1.1 This test method determines the resistance of polyethylene materials to slow crack growth under conditions specified within.
Note 1: This test method is known as PENT (Pennsylvania Notch Test) test.
1.2 The test is generally performed at 80°C and at 2.4 MPa, but may also be done at temperatures below 80°C and with other stresses low enough to preclude ductile failure and thereby eventually induce brittle type of failure. Generally, polyethylenes will ultimately fail in a brittle manner by slow crack growth at 80°C if the stress is below 2.4 MPa.
1.3 The test method is for specimens cut from compression molded plaques.2 See Appendix X1 for information relating to specimens from pipe.
1.4 The values stated in SI units are to be regarded as standard. No other units of measurement are included in this standard.
Require More Customized Solutions?