Information on the most widely used ASTM standards within the materials testing industry
ASTM F1306
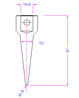
ASTM F1306 Penetration Resistance test of plastic film describes a method with very similar objectives for measurement of flexible barrier films and laminates. It uses an indenter with a tip radius of 1.6 mm and a conical shaft with a 6° angle. The test is performed on a film strip, which is fastened over an opening with a 35 mm diameter.
Penetration resistance is a vital part of the quality of thin, flexible materials in which any sharp-edged item pointed downward will not break past the barrier of a film or laminate. ASTM F1306 is a specification regarding the slow rate penetration resistance properties of flexible barrier films and laminates.
General introduction
ASTM F1306 Penetration Resistance test of plastic film describes a method with very similar objectives for measurement of flexible barrier films and laminates. It uses an indenter with a tip radius of 1.6 mm and a conical shaft with a 6° angle. The test is performed on a film strip, which is fastened over an opening with a 35 mm diameter.
Penetration resistance is a vital part of the quality of thin, flexible materials in which any sharp-edged item pointed downward will not break past the barrier of a film or laminate. ASTM F1306 is a specification regarding the slow rate penetration resistance properties of flexible barrier films and laminates.

Probe size: A hemispherical probe with a recommended diameter of 3.2 mm (biaxial stress) is generally used to make material testing comparable to the standard.
Sample test diameter: 34.9mm (generally diameter to probe ratio of at least 10:1)
Sample size: Sample thickness (±2% or ±0.0025), whichever is 76mm X 76mm square specimen
Test speed: 25mm/min (or within 500mm/min depending on the situation)
Calculation: Maximum Force, Destruction Point Energy
Require More Customized Solutions?