Home >> Application >> By Standard >> Others >> EN 14157 Natural Stone Abrasion Resistance Test

EN 14157 Natural Stone Abrasion Resistance Test

Share:

EN 14157 Natural stone test methods. Determination of the abrasion resistance


EN 14157 is a European standard specifying two test methods to measure the abrasion resistance of natural stones used for interior building flooring. It is the key reference for evaluating wear performance of stone floor materials in Europe.


Test Principles:

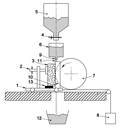
Method A - Wide Wheel Abrasion Test: The principle is to abrade the face of a specimen (which will be exposed in use) with an abrasive material under standardized conditions. A wide steel wheel, rotating at a specified speed, is fed with a controlled flow of abrasive (corundum). A specimen is pressed against this wheel by a counterweight, and the abrasive action creates a groove. The abrasion resistance is evaluated by measuring the length of the groove produced after a fixed number of wheel revolutions.


Method B - Bohme Abrasion Test: The principle involves subjecting a test specimen to abrasion on a rotating disc (Bohme disc abrader) strewn with standard abrasive. The specimen is loaded with a defined force. The abrasive wear is determined as the loss in specimen volume (calculated from mass loss and density) after a fixed number of test cycles.


EN 14157 Test Methods & Apparatus: 

Method A - 

Wide Wheel Abrasion Test

Core: A rotating wide steel wheel abrades the stone specimen under controlled load and abrasive feed.

Result: Depth/volume of the wear groove formed on the specimen.

EN 14157 Natural Stone Abrasion Resistance Test
Method A: Apparatus

Wide wheel abrasion testing machine: 

A wide abrasion wheel made of specified steel (Fe 690), with defined hardness, diameter (200±1 mm), and width (70±1 mm). 

It rotates 75 revolutions in (60±3) seconds.

A storage hopper and flow guidance hopper to regulate and deliver the abrasive material at a minimum rate of 2.5 L/min.

A mobile clamping trolley holding the specimen, forced against the wheel by a counterweight (14±0.01 kg).

Other equipment includes a magnifying glass (≥2x), steel ruler, and digital calliper (accuracy ≥0.05 mm).

Method B – 

Böhme Abrasion Test

Core: A rotating abrasive disc abrades the specimen under fixed load.

Result: Mass loss or thickness reduction of the specimen after a set number of cycles.

EN 14157 Natural Stone Abrasion Resistance Test
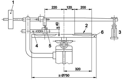
Method B: ApparatusBöhme Abrasion Testing Machine

A rotating disc (~750 mm diameter) with a replaceable cast iron test track (annular, 200 mm wide) of specified hardness. Speed: (30±1) rpm.

A specimen holder (U-frame) that positions the specimen on the track.

A loading device (lever system with weights) to apply a vertical test force of (294±3) N on the specimen.

A thickness measuring device (dial gauge) for measuring specimen thickness reduction.


Test Specimen Information of EN 14157 Abrasion Test: 

Method A
Form & Size           A whole product or a cut piece measuring at least 100 mm x 70 mm, incorporating the upper (wear) face.
QuantityAt least six specimens from a homogenous batch.
Preparation

Specimens must be clean and dried at (70±5)°C to constant mass. The test face must be flat (within ±1 mm over 100 mm); a rough surface may be lightly ground.

The orientation of the test face relative to anisotropy (e.g., bedding) must be noted. Before testing, the surface is cleaned and marked with a dye to facilitate groove measurement.

Method B
Form & SizeCubes or parallelepipeds with a square base of side (71±1.5) mm.
QuantityAt least three specimens from a homogenous batch.
Preparation

Contact and opposite faces must be parallel and flat. Specimens are cleaned and dried at (70±5)°C to constant mass. Pre-grinding of the contact face (4 cycles) is usually required.

The apparent density (ρ_b) and initial mass (m_i) of each specimen must be determined. Orientation must be noted. For wet testing, specimens are immersed in water for ≥7 days.


Details test proceudre of the EN 14157 Abrasion Test: 

Method A Procedure:

1, Calibration: The apparatus must be calibrated regularly. The calibration uses a reference sample ("Boulonnais Marble") to adjust the counterweight so that the produced groove length is (20.0 ± 0.5) mm. The abrasive flow rate is also verified to be ≥2.5 L/min.

2, Testing: The storage hopper is filled with dry abrasive. The specimen is positioned on the trolley. The wheel is started, and the abrasive flow is opened simultaneously. The wheel makes 75 revolutions.

3, Measurement: The groove length is measured using a magnifying glass, a pencil, and a digital calliper. Measurements are taken at the middle and near both ends of the groove (3 readings for calibration, otherwise as specified).

4, Result Calculation: The measured groove dimension is corrected using a calibration factor (the difference between 20.0 mm and the actual calibration value) and rounded to the nearest 0.5 mm.


Method B Procedure:

1, Cyclical Testing: 20 g of standard abrasive is poured on the test track. The specimen is clamped and loaded. The disc is rotated for 22 revolutions (1 cycle). This is repeated for a total of 16 cycles. After each cycle, the disc and specimen are cleaned, the specimen is turned 90°, and fresh abrasive is added.

2, For Wet Testing: Water is dripped onto the track during the test, and the track is moistened before adding abrasive.

3, Weighing: The specimen is weighed to 0.1 g accuracy before the test and after every 4 cycles. Final mass (m_f) is measured after drying post-test.

4, Result Calculation: The abrasive wear (mean loss in volume, ΔV, in cm³/50 cm²) is calculated from the mass loss (Δm = m_i - m_f) and the apparent density (ρ_b): ΔV = Δm / ρ_b.


Test Report: The report must contain extensive information including lab/client details, specimen description, test method used, all results (groove length for Method A, volume loss for Method B), mean values, and any deviations from the standard.


Test Application: 

Primary: Quality control and classification of natural stones for interior flooring (e.g., granite, marble, limestone, sandstone).

Secondary: Material selection for high-traffic areas (lobbies, corridors, commercial spaces), performance comparison between stone types, and compliance with European building regulations.

Related products and device

EN 14157 Steel Wide Wheel Abrasion Testing Machine

steel Wide Wheel Abrasion Testing Machine is used to test the wear resistance of inorganic floor materials and unglazed tiles. It comes with two types of steel wheels, A and B, randomly equipped. By replacing the steel wheels and counterweights, it can easily achieve multiple functions, allowing wear tests on wall tiles, floor tiles, paving bricks,

EN14157 Böhme Abrasion Testing Machine

Böhme Abrasion Testing Machine is mainly used to test the wear resistance or abrasion resistance of natural stone and other building decoration materials (such as artificial stone, microcrystalline glass, etc.). Conform with EN 14157:2004 'Natural Stone — Abrasion Test' Test Method B.

EN 14157 Compression Strength Testing Machine

WDW Series Computer Control Electronic Universal Testing Machine made by UNITEDTEST range from 100N to 600KN load capacity with various models like single columns, table type, door frame type etc., is used to perform tension, compression, flexure/bending, shearing, peeling etc., test for metal and nonmetal specimens. Matched with UNITEDTEST design and produced various test fixture, like peel, flexure, puncture, tear, pneumatic grip, belt tension etc., this UTM can be used to almost all materials include but not limited to steel rod, rubber, steel wire, plastic, seat belt, textile, wood, panel etc., mechanical performance inspection.

< Previous: IEC 60811-4-1 Testing methods for Insulating and sheathing materials of electric and optical cables

> Next: EN 61386-1 Conduit Cable Mechanical Tests

Require More Customized Solutions?

We offer customization to meet your specific needs. Our expert team will collaborate with you to develop the perfect product for you
Customize Now

Beijing United Test Co., Ltd.