Home >> Application >> By Standard >> ISO >> ISO 5000~9999 >> ISO 9626 Stiffness Test of Steel Needle Tubing for Medical Devices

ISO 9626 Stiffness Test of Steel Needle Tubing for Medical Devices

Share:

ISO 9626 Test: Stainless Steel Needle Tubing for Medical Devices

ISO 9626 specifying requirements and test methods for rigid stainless steel needle tubing used in hypodermic needles and other human‑use medical devices, stipulate the test method of stiffness, resistance of breakage, resistance of corrosion. It covers tubing from 3.4 mm (10 Gauge) to 0.18 mm (34 Gauge) and defines mechanical performance, dimensions, and material quality. 


Test methods, principle and equipment used for ISO 9626: 

Test methodsPrinciplesEquipments
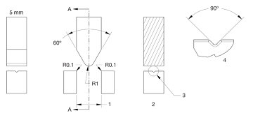
Stiffness test

Support both ends of a pipe of specified length, apply a specified force at the center point, and measure the deflection (amount of bending) it produces

ISO 9626 Stiffness Test of Steel Needle Tubing for Medical Devices.

stiffness tester capable of applying a downward force of up to 60 N with an accuracy of ±0.1 N, using a pressing head with a blunt wedge-shaped lower end.

Equipment is also needed to measure deflection with an accuracy of 0.01 mm.

Resistance of breakageOne end of the needle tube is rigidly fixed, and a force is applied at a specific distance from the fixed point to bend the needle tube in one direction to a specified angle, then bend it in the opposite direction, repeating the cycle a specified number of times.Medical Needle Resistance Breakage Tester; Needle tube fixing bracket and equipment capable of applying sufficient force to bend it to a 25° angle.
Corrosion Resistance TestImmerse the needle portion in a sodium chloride solution for a specified time, then visually compare the immersed part with the unimmersed part to check for signs of corrosion.0.5 mol/L sodium chloride solution, borosilicate glassware.


Test procedures: 

Stiffness test

Place the syringe on the tester and adjust the support span to the value specified in standard.

Align the indenter with the center of the span and ensure that the syringe is perpendicular to the support and the loading indenter.

Apply the force specified in Table 2 at a speed of 1-10 mm/min.

Measure and record the deflection value at the point of force application.

Acceptance Criteria: The measured deflection shall not exceed the maximum value specified in standard for the corresponding specifications and wall thickness types. 

(RW standard wall, TW thin wall, ETW extra thin wall, UTW ultra-thin wall).

Resistance of breakage

Fix one end of the needle tube rigidly. 

Apply force at the distance specified in Table C.1, causing the needle tube to bend within a single plane. 

The bending angles are: 25°±1° for standard wall tubes, 20°±1° for thin wall tubes, and 15°±1° for extra-thin and ultra-thin wall tubes.

Apply force in the opposite direction, bending it to the same angle in reverse.

Complete 20 full cycles at a frequency of 0.5 Hz and visually inspect the needle tube for fractures.

Acceptance criteria: The needle tube should not exhibit any visible fractures during testing.
Corrosion Resistance Test       

Place a syringe in a glass container filled with a sodium chloride solution, so that approximately half of the syringe length is immersed in the solution.

Maintain at (23±2)°C for 7 hours ±5 minutes.

Remove the syringe, wipe it dry, and compare the immersed and non-immersed parts under normal or corrected vision.

Acceptance criteria: The immersed half of the syringe shall not show any evidence of corrosion caused by the test.


For stainless steel needle tubes used in the manufacture of invasive medical devices such as subcutaneous injection needles, these tests are crucial:


Stiffness test: Ensures that the needle tube has sufficient rigidity to pierce the skin and tissue, while not being overly hard, which could lead to brittle fracture or patient discomfort. Stiffness directly affects the accuracy of injection and the patient's perception of pain.

Fracture resistance test: Simulates the repeated bending stresses that the needle tube may undergo during manufacturing (such as grinding and forming) and use. Ensures that the needle tube has good toughness and fatigue resistance to prevent breakage during injection, which is a critical safety requirement.

Corrosion resistance test: Verifies the corrosion resistance of the stainless steel material in a physiological saline environment. Corrosion can not only weaken the needle tube structure but also potentially release metal ions into the body or contaminate the drug solution, impacting biosafety and drug compatibility.

Dimensional and appearance requirements: Strict dimensional tolerances (Table 1) ensure compatibility of the needle tube with other components such as the syringe and needle hub, as well as smooth fluid flow. Smooth, clean, defect-free surface treatment requirements help reduce tissue damage, patient pain, and the risk of microbial adhesion.

Related products and device

ISO 9626 Medical Steel Needle Tubing Stiffness Tester

Medical Tubing Stiffness Tester is suitable for the measurement of the deflection value of the rigid stainless steel needle tubes used for the injection needle tubes and other medical devices in the skin, subcutaneous, muscle and vein of human body. ISO 9626, ISO 7864

ISO 9626 Medical Needle Resistance Breakage Tester

Medical Needle Resistance Breakage Tester is suitable for the determination of toughness of rigid straight stainless steel needle tubes for intradermal, subcutaneous, muscular and venous injection and other medical instruments. Conform with the ISO 9626 standard.

< Previous: ISO 9585 Testing of surgery bone plates to ASTM F382 and ISO 9585, Bending / Flexural Test Method for Metallic Bone Plate

> Next: ISO 9649 Metallic materials - Wire - Reverse torsion test

Require More Customized Solutions?

We offer customization to meet your specific needs. Our expert team will collaborate with you to develop the perfect product for you
Customize Now

Beijing United Test Co., Ltd.