Home >> Application >> By Standard >> ISO >> ISO 1 ~ 4999 >> ISO 812 Low-temperature brittleness Impac Test of Rubber, vulcanized or thermoplastic

ISO 812 Low-temperature brittleness Impac Test of Rubber, vulcanized or thermoplastic

Share:

ISO 812:2017 specifies a method for determining the lowest temperature at which rubber materials do not exhibit brittle failure or the temperature at which half of the test pieces used in a test fail when impacted under specified conditions. UnitedTest supply the suitable testing machine for this standard requirement. 

The temperatures thus determined do not necessarily relate to the lowest temperature at which the material can be used since the brittleness will be affected by the conditions of test and especially by the rate of impact. Data obtained by this method are, therefore, intended to be used to predict the behaviour of rubbers at low temperatures only in applications in which the conditions of deformation are similar to those specified in the test.


ISO 812 Test Principle:

The test evaluates low‑temperature embrittlement by subjecting cooled, cantilever‑mounted rubber specimens to a controlled, high‑speed impact (2 m/s). At low temperatures, rubber loses elasticity and becomes brittle; impact induces cracking or fracture. The test quantifies the critical temperature threshold for brittle failure under defined dynamic loading, simulating real‑world low‑temperature impact conditions. 


Three Test methods procedures are described:

- procedure A, in which the brittleness temperature is determined;

Objective: Find the lowest temperature at which no test pieces fail (crack/break) under specified impact.

Method: Test at descending temperatures (10 °C steps, then 2 °C steps) until zero failures; record that temperature as the brittleness temperature.

- procedure B, in which the brittleness temperature for 50 % failure is determined;

Objective: Find the temperature at which 50 % of test pieces fail.

Method: Test across a temperature range, calculate failure percentages, and compute Tb via formula or graphical (probability plot) method.

- procedure C, in which the test piece is impacted at a specified temperature.

Objective: Pass/fail assessment at a defined temperature (for material classification/specification).

Method: Impact at the specified temperature; report “satisfactory” if no failures, “unsatisfactory” if any failures occur.

Procedure C is used in the classification of rubber materials and for specification purposes.


Testing device and equipment used for ISO 812 rubber low temperature brittleness impact test: 

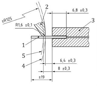
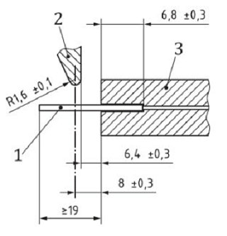
1, Test Piece Clamp and striker: 

Rigid cantilever design; clamping length 6.8 ± 0.3 mm; torque 0.15–0.25 N·m 


The test piece clamp shall be rigid and designed to hold the test piece(s) as cantilever beam(s). Each individual test piece shall be held firmly and securely in the clamp without distortion. A suitable example of a clamp is shown in below.

ISO 812 Rubber, vulcanized or thermoplastic — Determination of low-temperature brittlenessISO 812 Rubber, vulcanized or thermoplastic — Determination of low-temperature brittlenessISO 812 Rubber, vulcanized or thermoplastic — Determination of low-temperature brittleness


Striker: Impact edge radius 1.6 ± 0.1 mm; clearance 6.4 ± 0.3 mm; impact point 8 ± 0.3 mm from clamp;

It have two motions types: 1, straight line motion impact (Recommend), 2, rotational motion impact. 

ISO 812 Low-temperature brittleness Impac Test of Rubber, vulcanized or thermoplastic

ISO 812 Low-temperature brittleness Impac Test of Rubber, vulcanized or thermoplastic

Straight line motion impactRotational motion impact


Impact Speed: 2.0 ± 0.2 m/s (normal to specimen); maintained ≥6 mm post‑impact; energy ≥3.0 J per specimen

Temperature System: Liquid/gas bath (silicone oil, ethanol, methylcyclhexane); control ±1 °C; measurement ±0.5 °C


ISO 812 Low-temperature brittleness Impac Test Procedures

1, Common Preparations

Cool bath/chamber to target temperature; pre‑cool clamp.

Mount specimens; condition: 5 min (liquid) / 10 min (gas) at test temperature.

Deliver single impact; inspect for failure (crack/fracture visible to naked eye; bend 90° to check hidden cracks).

2, Test:

Procedure A (Brittleness Temperature)

Start below expected non‑failure temp; test at 10 °C increments until zero failures.

Refine with 2 °C steps to find the highest temp with zero failures = brittleness temperature.

Procedure B (50 % Failure Temp)

Test across a range; record failures at each temp.

Calculate Tb via formula or probability plot (50 % failure intersection).

Procedure C (Specified Temp)

Test at the defined temperature; report pass/fail based on zero/any failures.


Relatd Standard: 

ASTM D2137Standard Test Methods for Rubber PropertyBrittleness Point of Flexible Polymers and Coated Fabrics. (most similar with ISO 812).
ASTM D746Brittleness temperature of plastics and elastomers by impact (similar for rigid/flexible plastics).
ISO 974Plastics--Determination of brittleness temperature by impact.
GB/T 15256Chinese standard for low‑temperature brittleness of vulcanized rubber (multi‑specimen method).
ASTM D1329Low‑temperature retraction (TR test) – complementary low‑temperature rubber property test.
TCVN 5321Rubber, vulcanized or thermoplastic.Determination of low-temperature brittleness.
UNE 53541Rubber, vulcanized; determination of low-temperature brittleness.


ISO 812 Test Applications: 

Material Development: Rank rubber compounds by low‑temperature toughness; optimize formulations for cold environments.

Product Design: Determine minimum service temperatures for seals, hoses, tires, gaskets, and automotive/industrial rubber parts.

Quality Control: Verify compliance with material specs (Procedure C) and ensure batch consistency.

Regulatory/Standards Compliance: Meet requirements for rubber products in aerospace, automotive, construction, and cold‑climate applications.


Key Differences of ISO 812 vs ASTM D2137:

CategoryISO 812ASTM D2137
MaterialsRubber onlyRubber + rubber‑coated fabrics
Methods3 (A, B, C)4 (A, B, C, D)
Fabric Coating TestNoYes (Method B)
Specimen DimensionsMetric (mm)Metric (mm) / imperial (in)
Clamping Length6.8 mm6.35 mm (Tab)
Impact Point8 mm from clamp7.9 mm from clamp
Primary RegionGlobalNorth America


Related products and device

ISO 812 Low-temperature brittleness Impact Tester

Rubber low-temperature brittleness testing machine is to determine the highest temperature of vulcanized rubber under specified conditions when the sample is damaged by impact. Follow the standard ASTM D2137 ASTM D746; ISO 812; ISO 974.

ISO 812 Rubber Sample Electric Test Specimen Cutting Press (die, cutter)

Electric sample punching machine is a sample preparation device designed based on the punching principle, specifically developed for preparing standard samples of sheet-like, film-like, and thin plate materials.

Related Standard

ASTM D2137 Rubber Brittleness Point Test of Flexible Polymers and Coated Fabrics

ASTM D2137: Standard Test Methods for Rubber Property--Brittleness Point of Flexible Polymers and Coated Fabrics


ASTM D2137 test method is used to evaluate the brittleness of rubber materials, or rubber coated fabrics, when exposed to low-temperature flex with an impact under specified conditions of striker speed. ASTM D2137 tests performed will be used to determine the lowest temperature at which rubber compounds will not show fractures or coating cracks when exposed to specified impact conditions.

ASTM D746 Impact Test for Brittleness Temperature of Plastics and Elastomers

ASTM D746: Standard Test Method for Brittleness Temperature of Plastics and Elastomers by Impact


ASTM D746 test method establishes the temperature at which 50 % of the specimens tested would probably fail when subjected to the conditions specified herein. The test provides for the evaluation of long-time effects such as crystallization, or those effects that are introduced by low-temperature incompatibility of plasticizers in the material under test. Plastics and elastomers are used in many applications requiring low-temperature flexing with or without impact. Use data obtained by this method to predict the behavior of plastic and elastomeric materials at low temperatures only in applications in which the conditions of deformation are similar to those specified in this test method. This test method has been found useful for specification purposes, but does not necessarily measure the lowest temperature at which the material is suitable for use.

ISO 974 Plastics brittleness temperature impact test

ISO 974 Plastics -- Determination of the brittleness temperature by impact


Scope:

Brittleness temperature is the temperature at which 50% of the tested specimens exhibit brittle failure at specified impact conditions. It is utilized primarily for plastics and elastomers.

Test Procedure:

Specimens are secured in the customer specified specimen holder (A or B) with a torque wrench at 5 in-lb. The specimen holder is lowered into a bath at a specified temperature. The specimens are impacted at 2000 ± 200 mm/s and then examined. The procedure is repeated at a lower temperature until enough data is generated to determine a brittleness temperature. Brittle temperature is the temperature at which 50% of the specimens fail. Brittle failure is defined by ASTM D746 as fracture into 2 or more pieces, or any crack visible to the unaided eye. The specimens can be bent to an angle of 90° and examined for cracks at the bend.

ASTM D412 Tensile Strength of Rubber and Elastomers

ASTM D412 test methods cover procedures used to evaluate the tensile (tension) properties of vulcanized thermoset rubbers and thermoplastic elastomers. These methods are not applicable to ebonite and similar hard, low elongation materials. 

The methods appear as follows:

Test Method A—Dumbbell and Straight Section Specimens

Test Method B—Cut Ring Specimens

ASTM D2663 Carbon black dispersion test in Rubber

ASTM D2663: Standard Test Methods for Carbon Black—Dispersion in Rubber


ASTM D2663 test methods cover the degree of dispersion of carbon black in rubber. Visual dispersion ratings correlate with certain important physical properties of the compound. 

ISO 37 Tensile Test on Rubber, vulcanized or thermoplastic

ISO 37 and ASTM D412 are both widely recognized tensile test methods designed to evaluate the stress-strain characteristics of various rubber materials, including natural rubber, synthetic rubber, silicone rubber, and thermoplastic elastomers (TPEs). While both standards aim to determine the tensile properties of rubber and elastomers, they differ in their specific methodologies and applications.

FAQ: ISO 812 Low-Temperature Brittleness Test

Q1: What is ISO 812 mainly used for?

A: ISO 812 measures the low-temperature brittleness of vulcanized or thermoplastic rubber. It determines the critical temperature at which rubber changes from elastic to brittle and fractures under standardized impact loading.


Q2: Why is this test so important for rubber materials?

A: It defines the minimum safe service temperature for rubber parts.

Prevents sudden brittle failure in cold environments (outdoor, automotive, aerospace, arctic use).

Supports material selection, formulation optimization, and quality control.

Provides a globally recognized method for material qualification and trade.


Q3: What kind of specimens are used in ISO 812?

A: Standard rectangular rubber specimens, typically 2.0 ± 0.2 mm thick.

Dimensions and preparation follow strict requirements to avoid edge defects.

Conditioned according to ISO 23529 before testing.


Q4: Can ISO 812 be used for rubber-coated fabrics?

A: No. ISO 812 applies only to bulk rubber. For coated fabrics, use ISO 4646 instead. ASTM D2137 covers both rubber and coated fabrics.


Q5: How long should specimens be conditioned at the test temperature?

A: 5 minutes in a liquid bath

10 minutes in a gas cooling chamber

This ensures thermal equilibrium throughout the sample.


Q6: What is the main failure criterion in ISO 812?

A: Failure is defined as visible cracking or complete fracture of the specimen after impact. Hidden cracks can be checked by gentle bending.

< Previous: ISO 604 Compressive Strength Testing of Plastics

> Next: ISO 974 Plastics brittleness temperature impact test

Require More Customized Solutions?

We offer customization to meet your specific needs. Our expert team will collaborate with you to develop the perfect product for you
Customize Now

Beijing United Test Co., Ltd.