Information on the most widely used ASTM standards within the materials testing industry
Model: UT1011, ISO 8644 Motorcycle- Light Alloy Wheels torsional fatigue
Wheel torsion fatigue testing machine is mainly used in electric vehicles, motorcycles, and their supporting hub factories. The wheel torsion fatigue testing machine is used to test the overall strength of wheels under sudden braking in normal driving conditions. Currently, our wheel torsion fatigue testing machine uses a linear electric cylinder as the force application device, adding force to the lever arm to carry out fatigue testing of the wheel's torsional strength.
Currently, there are two types of torsion test wheels: one is a drum brake wheel that requires custom tooling, and the other is a disc brake wheel that needs to be fixed with bolts. In torsion fatigue testing, a decrease in the standard force and an increase in displacement are both indications of damage to the wheel.
Wheel Rim Torsion Fatigue Testing Machine, Torsional fatigue test, ISO 8644 Torque bearing capacity test.
General introduction
Wheel torsion fatigue testing machine is mainly used in electric
vehicles, motorcycles, and their supporting hub factories. The wheel
torsion fatigue testing machine is used to test the overall strength of
wheels under sudden braking in normal driving conditions. Currently, our
wheel torsion fatigue testing machine uses a linear electric cylinder
as the force application device, adding force to the lever arm to carry
out fatigue testing of the wheel's torsional strength.
Currently, there are two types of torsion test wheels: one is a drum brake wheel that requires custom tooling, and the other is a disc brake wheel that needs to be fixed with bolts. In torsion fatigue testing, a decrease in the standard force and an increase in displacement are both indications of damage to the wheel.
Wheel Rim Torsion Fatigue Testing Machine, Torsional fatigue test, ISO 8644 Torque bearing capacity test.

Fix alloy rim flange to holder and impact a torque as defined like above on alloy rim in symmetric direction through wheel hub’s contact surface. Arm length should be equal to radius of the smallest tyre in line with alloy rim
Fix alloy rim to holder through wheel hub's contact surface and impact a torque on alloy rim by a doughnut ring tightened to alloy rim.
The number of torque impacts is not under 105.
Key Features
The actuator is articulated with the swing arm, and the swing arm is hardly linked to the hub, so that the actuator converts the straight motion into the wheel rotation when it is working, thus enabling the torsion function of the hub. When the hub is clamped, according to different thicknesses, you can adjust the relative position of the swing arm, the bottom of the actuator is equipped with an adjustment screw, can be adjusted accordingly with the position of the swing arm. Ensure that the actuator is perpendicular to the swing arm and extends the service life of the corresponding components. The actuator height is adjustable, which can make the actuator in a different position and increase the service life of the actuator.
The host is a frame structure, and the servo linear actuator is placed inside the host frame. The swing arm is automatically bolted through the hub, and then the swing arm is locked with the hub through a special screw, and the wheel contact surface is rolled with a roller treatment to ensure that the swing arm does not rotate relative to the hub during the test (the corresponding work assembly and locking shaft dimensions will be consistent with the original work assembly).
ISO 3006 Road vehicles — Passenger car wheels for road use — Test methods
ISO 8644: 2006 Motorcycles — Light-alloy wheels — Test method etc.,
JASO T203-85 Motorcycle Light Alloy Wheels
ISO 8645-1988 "Mopeds-Light Alloy Wheels-Test Methods"
GB/T22435-2008
QC/T211-1996 "Test Method for Light Alloy Wheels for Motorcycles and Mopeds"
QC/T212-1996 "General Technical Conditions for Aluminum Alloy Integral Wheels for Motorcycles and Mopeds"
GB/T 6147-92 Technical Requirements for Packaging, Packaging Marking, Storage and Transportation of Testing Machines
The porous workbench is used to support the hub end face, the slide is equipped with a movable arc positioning block (depending on the wheel diameter can be changed position, estimated hub diameter drill the corresponding hole in advance, need to be replaced to adjust its position,)

T-type slide is used to support the hub end face, the slide is equipped with a movable arc positioning block (depending on the wheel diameter can be changed position, estimated hub diameter drill the corresponding hole in advance, need to replace when adjusting its position can be)
Motorcycle manufacturers: Test the product quality of wheel suppliers to ensure compliance with the durability requirements of the complete vehicle.
Passenger car manufacturers: Assess the dynamic rotational bending fatigue strength of wheels when cornering.
Third-party testing agencies: Provide wheel fatigue performance certification services to help companies meet industry access standards.
Main technical specification
| Max. Static load | ±5000N, ±1% |
| Max. Dynamic load | ±5000N; fluctuation: no more than 0.1% FS |
| Max. torque | 3000Nm |
| Actuator stroke | ±50mm |
| Frequency | 0.1~10Hz (max. stoke is±0.5mm at max. frequency). |
| Max. linear velocity | 500mm/s |
| Control mode | Load, displacement, deformation control mode, main test waveforms: supported by controller (including sine, triangular, oblique, and external input waveforms) |
| Test Rim size | 12~18 inches, 1.25~8 inches wide |
| Max. installation size | 1050*800mm (match with the wheel diameter) |
| Force arm axial adjustment range | 0-350mm (with different width wheels) |
| Vertical space | 450mm |
| Width space | 450mm |
| Arm of force | 700±1mm, Final arm length adjusts size depending on wheel size |
| Weight | 1700kg |
| Power supply | 220V, 50HZ |
Main accessories (Standard delivery with machine)
| Frame | 1 set |
| Fully digital AC servo motor (Japan Panasonic) | 1 set |
| AC servo diving system (Japan Panasonic) | 1 set |
| Rim fixture | 1 set |
| Load cell (USA Vishay celtron) | 1 set |
| Servo liner actuator | 1 set |
| Fully digital data sampling system | 1 set |
| English version software | 1 set |
| Ground bolts | 4 pcs |
| Computer | 1 set |
| Printer | 1 set |
| Documents (Manual, packing list, certificate) | |
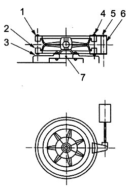
Hinged bearings are connected to the ears on both sides via the pin shaft and secured by the reed.
Adjust the horizontal leading screw to adjust the loading center.
use of high-precision screw and brand-name motor, high positioning accuracy, fast response, travel and speed adjustable.
Require More Customized Solutions?