Information on the most widely used ASTM standards within the materials testing industry
ASTM F1473 Standard Test Method for Notch Tensile Test to Measure the Resistance to Slow Crack Growth of Polyethylene Pipes and Resins.
Standard scope:
ASTM F1473 (officially titled Standard Test Method for Notch Tensile Test to Measure the Resistance to Slow Crack Growth of Polyethylene Pipes and Resins) is also known as the PENT (Pennsylvania Notch Test). It is the most widely used accelerated test method for evaluating the slow crack growth (SCG) resistance of polyethylene (PE) materials, especially for PE pipe resins and products.
ASTM F1473 standard test is performed at 80 °C and at 2.4 MPa, but it shall be acceptable to conduct tests at a temperature below 80 °C and with other stresses low enough to preclude ductile failure and thereby eventually induce brittle type of failure. The standard test is conducted in an air environment; however, it shall be acceptable to immerse test specimens in an alternate environment such as water or a water/detergent solution, or other liquid or a different environment such as an inert gas to evaluate slow crack growth performance in different environments. Generally, polyethylenes will ultimately fail in a brittle manner by slow crack growth at 80 °C if the stress is at or below 2.4 MPa
NOTE 2-When testing in environments other than air, it is recommended to consider maintaining the efficacy of the test media (for example, a detergent solution) to minimize any effect of aging.
Test Method Overview:
Core Purpose: Quantify the resistance of polyethylene to slow, brittle crack propagation under constant tensile load, elevated temperature, and a sharp notch.
Accelerated Conditions (Standard):
Temperature: 80 °C
Applied Stress: 2.4 MPa
Environment: Air (water/detergent or other media optional)ASTM
Failure Mode: Brittle fracture via slow crack growth from the notch tip (no ductile yielding).
Output: Time-to-failure (hours/days) under specified conditions; longer time = better SCG resistance.
Test Principle of ASTM F1473:
Stress Concentration: A sharp notch creates a high local stress concentration, mimicking real‑world flaws (e.g., scratches, weld defects) in PE pipes.
Accelerated Aging: Elevated temperature (80 °C) and moderate constant stress (2.4 MPa) accelerate the molecular chain disentanglement and crack propagation that occurs slowly at ambient conditions.
Brittle Fracture: Under these conditions, PE fails by slow, stable crack growth (not ductile rupture) from the notch tip. The time to failure directly reflects the material’s inherent resistance to SCG.
Correlation: Longer failure times correlate with better long‑term (50+ year) service performance in pressure pipes.
Test Equipment Required:
| Equipment | Key Requirements |
|---|---|
| Constant-Load Tensile Frame | Lever‑type (5:1 ratio preferred), dead‑weight, or computer controlled servo‑controlled; maintains constant tensile load. |
| Temperature‑Controlled Chamber | Maintains 80 ± 1 °C; uniform air circulation |
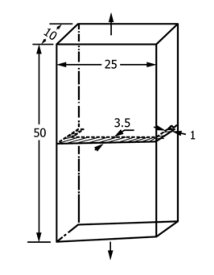
| Notching Machine | Razor‑blade notcher to create a sharp, controlled V‑notch (main depth ~3.5 mm; side groove: 1mm)
|
| Alignment Jig | Ensures specimen/grip alignment to avoid bending stress. |
| Timer | Accuracy ≥ 1%; auto‑stops on specimen failure |
| Specimen Grips | Smooth, non‑slip; no notch damage during clamping |

The test method is for specimens cut from compression molded plaques.
Why This ASTM F1473 Notch Tensile Test Is Critical for Polyethylene:
1 Dominant Failure Mode in Service
Slow crack growth is the primary failure mechanism for PE pressure pipes under long‑term, low‑level stress (e.g., internal pressure, soil movement).
It causes brittle, catastrophic failure without warning—far more dangerous than ductile rupture.
2 Accelerated Prediction of Long‑Term Life
Tests at 80 °C/2.4 MPa yield results in days/weeks, vs. years for real‑time hydrostatic testsASTM.
Enables rapid material screening and quality control without waiting for decades of field data.
3 Material Design & Safety
Distinguishes high‑performance PE100 from lower grades; PE100 requires superior SCG resistance for 50‑year design life.
Ensures pipes resist failure from minor flaws (notches, scratches) introduced during manufacturing, installation, or service.
4 Regulatory & Market Requirement
Mandated by global standards (ASTM, ISO, EN) for PE pipe material qualification and product certification.
A key performance metric for material selection in gas, water, and industrial piping systems.
Related products and device
Require More Customized Solutions?