Information on the most widely used ASTM standards within the materials testing industry
ISO 7438 is a standard that specifies a method for determining the ability of metallic materials to undergo plastic deformation in bending. It is used to evaluate the flexural strength and stiffness of a material. The bend test shall be carried out in testing machines equipped with a bending device with two supports and a former; bending device with a V-block and a former; bending device with a clamp. It is not applicable to tubes in full section or welded joints.
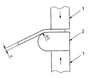
Test principle of ISO 7438:
The test subjects a metallic specimen (round, square, rectangular, or polygonal cross‑section) to controlled plastic bending under monotonic loading until a predefined bend angle is reached. The specimen’s two legs remain in a plane perpendicular to the bending axis. For a 180° bend, the sides may touch or stay parallel (controlled by an insert) per product‑standard requirements. The result is evaluated by examining the outer surface of the bent test piece for cracks or other defects.

Test methods:
1, Bend to the specified bending angle.
a), most common is the 3‑Point Bend. refer below jig 1.
Specimen placed symmetrically on two fixed supports.
A central loading nose (former) applies downward force to bend the specimen.
Bend angle controlled by the displacement of the former.
b), V‑Block Bend
Specimen positioned in a V‑shaped block.
A matching former forces bending within the V‑groove.
Used for thicker or higher‑strength materials.
2, Bend until the two arms are parallel to each other (at the specified distance).
3, Bend until the two arms are in direct contact. (Can bending to certain angle, then compress the sample to contact).
Testing Machine required for ISO 7438 Metal bending test:
The following are the equipment used in this test:
| Testing Machine | Universal testing machine or bending testing machine. With force/displacement control; capacity matched to specimen thickness/material strength. |
| Bending Fixture | Jig 1. Bending device with two supports and a former |
![]() | |
The 3-point bending jig was mount on an electromechanical material testing machine, The 3-point bending jig is an easy-to-use fixture that relies on the test machine to maintain alignment between the top and bottom parts. | |
| 2. Bending device with a V-block and a former | |
![]() | |
| 3. Bending device with a clamp | |
![]() |
Bending Test Specimen requirement details:
| Sample Shape | Sample should have a circular, square, rectangular, or polygonal cross-section. |
| Sampling and Preparation | Cutting location and direction of the blank shall follow the relevant product standards. Sample should have parts that may affect material performance due to shearing, flame cutting, and other operations removed. |
| Edges of rectangular test pieces | The surface of the specimen must be free of scratches and damage. The edges of square, rectangular, and polygonal specimens should be rounded, and the rounding radius should not exceed: Thickness < 10mm: 1mm 10mm ≤ Thickness < 50mm: 1.5mm Thickness ≥ 50mm: 3mm The rounding should not create burrs or other defects that affect the results. |
| Sample Width | Prefer to follow the product standard. If no specification, follow below: When the product width ≤ 20mm, the sample width = product width. When the product width > 20mm: 1), Product thickness < 3mm: sample width is (20 ± 5) mm. 2), Product thickness ≥ 3mm: sample width is between 20mm and 50mm. |
| Specimen Thickness/Diameter | Plate, strip, and profile: The specimen thickness should be the original product thickness. If the thickness is greater than 25mm, it can be machined down to no less than 25mm, with one original surface retained. During testing, the retained original surface should be on the side subjected to tensile deformation. Rod, profile, etc.: Diameter or inscribed circle diameter ≤ 30mm: Use the original cross-section. Diameter or inscribed circle diameter > 30mm but ≤ 50mm: Can be machined down to no less than 25mm. Diameter or inscribed circle diameter > 50mm: Should be machined down to no less than 25mm. During testing, the original surface that has not been machined should be placed on the side subjected to tensile deformation. |
ISO 7438 General Test Procedure (3‑Point Bend As Example):
Prepare & Measure: Clean, measure specimen thickness/width/length; record dimensions.
Set Up Fixture: Mount supports on UTM; set support span L (typically L= (D + 3a) ± a/2 or per product spec).
Position Specimen: Place symmetrically on supports; align loading nose at mid‑span.
Apply Load: Apply force at constant speed (e.g., 1–10 mm/min), recommend test speed (1±0.2)mm/s, until target bend angle (e.g., 90°, 120°, 180°) is reached.
Hold & Inspect: Maintain bend angle briefly; visually examine convex surface for cracks, fissures, or breaks.
Record Results: Note bend angle, presence/absence of cracks, and any failure mode.
Test Applications of metal bending test:
Material Ductility Evaluation: Primary use—assess ability to deform plastically without fracture.
Quality Control: Incoming material inspection, production batch verification.
Formability Assessment: For metals used in bending, rolling, stamping (e.g., steel sheet, aluminum alloys).
Weld/Heat‑Treatment Validation: Check integrity of processed zones (not for full tubes/welds per ISO 7438 scope).
Product Specification Compliance: Meet requirements for structural, automotive, aerospace, and construction metals.
Related Test standard:
| ASTM E290 | Standard Test Methods for Bend Testing of Material for Ductility. U.S. standard for metallic material bend tests (equivalent scope, similar methods). |
| JIS Z2248 | Japanese bend test standard for metals (aligned with ISO 7438) |
| ISO 15630-3 | For Prestressing steel, Steel for the reinforcement and prestressing of concrete. |
| ISO 6892 | Metal Tensile testing Standard. |
Related products and device
Related Standard
ASTM E290 Standard Test Methods for Bend Testing of Material for Ductility
ASTM E290 is a destructive mechanical test standard that evaluates the ductility and structural soundness of metallic materials (and welds) by subjecting specimens to controlled bending deformationASTM International. It is a widely used quality control and qualification method for metals, alloys, and welded joints across industries.
ISO 178 Plastics - Determination of flexural properties
ISO 178 specifies a method for determining the flexural properties of rigid and semi-rigid plastics under defined conditions. A standard test specimen is defined, but parameters are included for alternative specimen sizes for use where appropriate. A range of test speeds is included.
ISO 178 test method is used to investigate the flexural behaviour of the test specimens and to determine the flexural strength, flexural modulus and other aspects of the flexural stress/strain relationship under the conditions defined. It applies to a freely supported beam, loaded at midspan (three-point loading test).
ASTM C158 is a standard test method for determining the flexural strength (modulus of rupture, MOR) of glass and glass-ceramics via bending, covering two core methods (A for flat glass, B for rectangular/elliptical cross-sections) with clear specimen, equipment, procedure, and calculation rules. It is critical for glass engineering as flexural strength directly governs structural safety, design optimization, and compliance with industry standardsNational Glass Association.
ASTM D790: Standard Test Methods for Flexural Properties of Unreinforced and Reinforced Plastics and Electrical Insulating Materials
ASTM D790 test methods are used to determine the flexural properties of unreinforced and reinforced plastics, including high modulus composites and electrical insulating materials utilizing a three-point loading system to apply a load to a simply supported beam (specimen). The method is generally applicable to both rigid and semi-rigid materials, but flexural strength cannot be determined for those materials that do not break or yield in the outer surface of the test specimen within the 5.0 % strain limit.
ISO 14125 is a test method to determine flexure properties of fiber-reinforced plastic composites.
There are two methods used, Method A for a three-point flexure test and Method B for a four-point flexure test.
There are four material classes, Class I – IV, which define the specimen length, span, width, and thickness.
The standard requires deflection measurement not exceed +/- 1% error of full scale.
ISO 14125 is based on the ISO 178 standard and both utilize three point flexural testing of a freely supported bar loaded between the supports.
ISO 14125 focuses on fibre reinforced plastic compositesand has an alternative 4-point loading testing procedure, Procedure B.
The material properties recorded by following the standard are the flexural stress, flexural strain, elastic modulus in flexure and interlaminar shear modulus.
Compression-testing machine which will comply with ISO 5893 and shall be capable of maintaining speeds of (0.5 +- 20 %) mm/min to (500 +- 10 %) mm/min.
ISO 7801: Metallic materials -- Wire -- Reverse bend test
Specifies the method for determining the ability of wire of diameter or thickness 0,3 to 10 mm inclusive to undergo plastic deformation during reverse bending. The range of diameters of thicknesses for which ISO 7801 is applicable may be more exactly specified in the relevant product standard. The test consists of repeated bending, through 90 in opposite directions, of a test piece held at one end, each bend being over a cylindrical support of a specified radius.
Frequently Asked Questions (FAQs) about the ISO 7438 Bend Test
Q1: What is the ISO 7438 bend test, and what does it measure?
A1: The ISO 7438 bend test is a standardized mechanical test that determines a metallic material's ability to undergo plastic deformation in bending without fracture. It primarily assesses the material's ductility and formability by bending a specimen to a specified angle around a mandrel of a given diameter.
Q2: Why is this bend test important for materials?
A2: This test is crucial because it directly simulates real-world forming operations like folding, flanging, or curving that materials undergo during manufacturing (e.g., in automotive, construction, shipbuilding). A successful test indicates the material is suitable for such processes. It is a simple, cost-effective quality control check for:
Ductility: The material's ability to deform plastically.
Toughness/Soundness: Resistance to cracking, which can reveal surface defects, internal inclusions, or brittle microstructures.
Weld Integrity: Assessing the ductility of weld metal and the heat-affected zone.
Q3: What are the key specifications for the test specimen?
A3: Key specifications include:
Shape: Typically rectangular strips, but also round, square, or polygonal cross-sections.
Dimensions (Width/Thickness): Usually defined by the relevant product standard. If not, default rules apply (e.g., for rectangular specimens from wide products: width between 20-50mm for material ≥3mm thick).
Edges: The edges (except for the as-rolled surface) of rectangular specimens should be rounded to a specified radius to prevent premature cracking from sharp corners.
Surface: The surface must be free of scratches and notches that could influence the result. For thick materials machined down, the original surface must be placed on the tension side during bending.
Q4: What is the relationship between bend angle, mandrel diameter, and material ductility?
A4: A smaller mandrel diameter (D) relative to the specimen thickness (a) (i.e., a lower D/a ratio) and a larger bend angle impose a more severe strain on the material. Passing a test with a tight bend (small D, large angle) indicates higher ductility.
Q5: Does ISO 7438 specify fixed loading speed?
A5: It specifies a constant, low test speed to avoid dynamic effects, but the exact value is often determined by relevant material or product standards.
Require More Customized Solutions?