Information on the most widely used ASTM standards within the materials testing industry
ISO 7206-10: Implants for surgery --Partial and total hip joint prostheses -- Part 10: Determination of resistance to static load of modular femoral heads.
It specifies a method for determining the static load resistance of the connection between a modular femoral head and a tapered cone of a femoral stem (the "head/cone junction") in hip joint prostheses. Include static compression (fracture) and tensile (disassembly) tests to quantify the load capacity of modular femoral heads with conical taper (Morse taper) connections.

ISO 7206-10 Test Methods and test principle:
A static compressive or tensile force is applied to the head/neck assembly of the hip-joint prosthesis and increased until either the head or the neck, or the connection between them, fails, or until the chosen maximum force has been applied without the occurrence of failure.
Two primary static load tests are defined:
Compression Test: Measures the compressive/fracture load that causes head/neck assembly fracture.
Tensile (Pull‑Off) Test: Measures the tensile disassembly load required to separate the head from the neck.
Testing Machine required for this test:
| Universal Testing Machine (UTM) | Capable of static axial tension/compression, calibrated per ISO 7500‑1ISO |
| Compression Test Fixture | Spherical seating fixture matching the head’s articular surface.
|
| Tensile Test Fixture | Gripping fixture for the stem neck and a pull‑fixture for the femoral head.
|
Test procedure:
1, Sampling: Each test specimen will consist of a femoral head assembled on a neck unit.
Sample numbers: At least 5 samples.
2, Assembly of test specimen according standard requirement.
3.1, Static compression test:
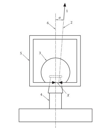
Load the femoral head through a conical loading bore, A copper ring shall be inserted between the femoral head and loading bore (Figure 3) to protect the contact surface of the head and the conical loading bore.
Apply a preload of 0,1 % of the maximum force of the testing machine (or between 50 N and 200 N) to the assembly. The compressive test force shall be applied at a loading rate of (0,5 ± 0,1) kN/s; or at a stroke rate of (0,04 ± 0,01) mm/s taking a record of the force/time, displacement/time, or force/displacement behaviour. It may be possible to shorten the test time by using a copper ring predeformed at the appropriate diameter.
Increase the force until one of the following occurs:
a) the fracture of the head; or
b) fracture or permanent deformation of the neck; or
c) the chosen maximum force has been applied.
Record the maximum force applied and explain the reason the test was terminated.
3.2, Static tension test:
Place the head/neck assembly in a fixture, capable of holding the neck component securely, achieving uniform flat contact around the base of the head.
The design of the fixture used to pull against the head requires either an opening on one side or a modular design. This fixture shall be sufficiently rigid to prevent deformation which might apply a bending moment or torque to the neck.

Load the head by applying to the assembly a tensile force at a stroke rate of (0,04 ± 0,02) mm/s. Faster rates may be used if it can be demonstrated that they do not affect the result.
Terminate the test when the head is suddenly removed from the neck component or the loading force drops below 100 N after a higher peak.
Importance of ISO 7206-10 static strength test for the hip implant/femoral head:
This test is critically important for patient safety and implant reliability:
Prevents In Vivo Catastrophic Failure: It ensures the modular connection, often a mechanical taper lock, is strong enough to withstand extreme static loads without dissociating, which would be a severe clinical complication.
Evaluates Design & Manufacturing Integrity: It validates the design of the taper angles, surface finish, and the quality of the materials (e.g., metallic alloys, ceramics) used for the head and cone.
Quantifies Settlement: Measures permanent displacement during first-time loading, which is crucial for understanding the initial stability of the junction.
Risk Mitigation for Modularity: While modularity offers surgical flexibility, it introduces a potential mechanical interface for failure. This test is a key safeguard against static overload failure of that interface.
Related products and device
Related Standard
ISO 11491: Implants for surgery -- Determination of impact resistance of ceramic femoral heads for hip joint prostheses. It defines two standardized impact test methods to evaluate the ability of ceramic femoral heads to resist fracture under impact loading.
Hip prostheses are a common medical device used to treat hip diseases and injuries. Ceramic femoral head is an important component in hip prostheses, which has excellent biocompatibility and mechanical properties, so it is widely used in clinical practice. However, due to its brittleness and fragility, ceramic femoral heads are prone to cracking and breaking during use, affecting the lifespan and safety of the prosthesis. Therefore, it is necessary to evaluate and test the impact resistance of ceramic femoral heads.
The ISO 11491 standard specifies a test method for determining the impact resistance of ceramic femoral heads. This test method is based on impact testing, which evaluates the impact resistance of ceramic femoral heads by measuring the failure of them at a certain impact energy.
ISO 7206‑4 and ISO 7206‑6 are key international standards defining fatigue endurance tests for stemmed femoral components of partial and total hip joint prostheses. ISO 7206‑4 evaluates the femoral stem under simulated proximal loosening; ISO 7206‑6 evaluates the femoral neck under well‑fixed, normal in‑vivo loading.
ISO 7206-8: Implants for surgery -- Partial and total hip joint prostheses -- Part 8: Endurance performance of stemmed femoral components with application of torsion.
ISO 7206-8 standard as a series of test methods capable of effectively evaluating the endurance performance of stemmed femoral components designed for total and partial hip joint prosthesis. The standard allows experts to subject test specimens to loading conditions that mirror those seen in real conditions when patients use their hip joint prosthesis. The standard’s objective is to determine if hip implants perform as expected, ensuring their functionality and safety will be reliable for the patients who depend on them.
ASTM WK51649 Femoral knee component fatigue testing system - Fatigue Testing of Total Knee Femoral Components Under Closing Conditions
ASTM WK51649 is a draft standard (work item) under development by ASTM Committee F04.22 on Arthroplasty . It proposes a test method for evaluating the fatigue resistance of total knee femoral components under closing conditions, similar in scope to ASTM F3210. (ASTM F3210-22e1 Standard Test Method for Fatigue Testing of Total Knee Femoral Components Under Closing Conditions)
ASTM WK51649 Fatigue testing of the metal femoral component of a total knee joint prosthesis is conducted to establish the F-N curve at different load levels and to determine the fatigue limit of the sample under 10 million cycles.
ASTM F2996 Standard Practice for Finite Element Analysis (FEA) of Non-Modular Metallic Orthopaedic Hip Femoral Stems
ASTM F2996 standard establishes requirements and considerations for developing Finite Element models to evaluate static implant stresses and strains of non-modular metallic orthopaedic hip stem designs. It can be used for worst-case assessment within a family of implant sizes to reduce the need for physical testing. The boundary conditions are set-up according to ISO 7206-4.
Require More Customized Solutions?