Information on the most widely used ASTM standards within the materials testing industry
ISO 3385: Flexible cellular polymeric materials - Determination of fatigue by constant-load pounding.
ISO 3385 specifies a constant-load pounding fatigue test to evaluate thickness loss and hardness loss of flexible cellular materials (primarily polyurethane and rubber latex foams) used in load-bearing upholstery applications. It simulates long-term cyclic loading to assess material durability and service performance.
ISO 3385 Test Principle:
Principle: the repeated indentation of a test piece by an indentor. The area of the indentor is smaller than the area of the test piece. A key requirement is that the maximum load reached during each compression cycle is maintained within specified limits (750 N ± 20 N). This simulates constant-load pounding fatigue.

The test subjects a foam specimen to repeated, controlled constant-load indentation to simulate real-world dynamic loading (e.g., repeated sitting on furniture/vehicle seats). Key metrics—thickness loss and indentation hardness loss—are measured pre- and post-fatigue cycling to quantify material fatigue resistance. The core principle is that cyclic compression causes cell structure degradation, leading to permanent deformation (thickness loss) and reduced load-bearing capacity (hardness loss).
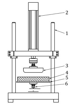
Testing Method & Apparatus of the ISO 3385:
The standard specifies the use of a pounding test machine. Two types are described:
| Machine Type A | A simpler, manually adjusted device. It typically uses a crank drive and a suspended weight mechanism. The operator must continuously adjust the indentor position during the test to maintain the specified 750 N ± 20 N load as the foam softens. |
| Machine Type B | Fully automated, controlled device. It is driven by electro-mechanical, pneumatic, or hydraulic mechanisms and is equipped with a load cell. It automatically controls and maintains the peak force (750 N ± 20 N) and the loading cycle parameters. Cycle Rate: (70 ± 5) strokes per minute.
|
| Indenter | Diameter of 250 mm ± 1 mm, with a 25 mm radius at the lower edge. |
| Support Platen | Perforated (6 mm holes, 20 mm pitch) to allow air escape; fully supports the specimen |
| Loading Cycle | The maximum force (750 N) must be applied for no more than 10% of each cycle's duration. The indentor must be completely unloaded in each cycle. |
Test Samples information:
Standard size: Right parallelepiped, 380 ± 20 mm × 380 ± 20 mm × 50 ± 2 mm (slabstock foam), and a thickness of 50 mm ± 2 mm. The standard also allows testing of shaped components if agreed upon by interested parties.
Orientation: Testing should be conducted in the direction the product will be stressed in service. For materials with cell orientation, the direction may be agreed upon by parties.
Conditioning: Material shall not be tested less than 72 hours after manufacture, unless equivalent results can be proven at 16 or 48 hours.
Minimum 16 hours at 23 ± 2 °C and 50 ± 5% RH before testing.
Quantity: Typically 3 specimens per test for statistical validity.
ISO 3385 Soft foam repeat compression by constant-load pounding Test Procedure
1, Initial Measurement: Conduct all testing in a controlled climate. Measure the original thickness (d₁) and the original hardness index (H₁) of the test piece on the same surface, according to ISO 2439, Method A.
2, Machine Setup:
Place the test piece concentrically under the indentor.
Type A: Adjust the stroke to match the test piece thickness (±10%) and the machine to apply the 750 N ± 20 N load. Continuous manual adjustment is needed during the test to maintain this load.
Type B: Set the machine to achieve (70 ± 5) strokes/min. Establish control of the peak load (750 N ± 20 N) and dwell time (≤10% of cycle) within the first 10 cycles. The machine automatically maintains tolerance.
3, Fatigue Cycling: Run the machine for 80,000 continuous load cycles.
4, Recovery: After cycling, remove the test piece and let it rest in an unstrained state for 10 min ± 0.5 min.
5, Final Measurement: Re-measure the thickness (d₂) on the fatigued area. Then, measure the final hardness index (H₂) at (40 ± 1)% indentation. Importantly, this 40% indentation level is calculated using the originalthickness d₁, not the fatigued thickness d₂.
6, Replication: Repeat the entire procedure for the remaining two test pieces.
7. Expression of Results:
Results are calculated for each test piece and the median of the three values is reported.
Loss in thickness, Δd (%): 100 × (d₁ - d₂) / d₁
Loss in hardness, ΔH (N): H₁ - H₂
Percentage hardness loss, ΔH (%): 100 × (H₁ - H₂) / H₁
8, Test Report: Must include reference to the standard, material description, conditioning, sample details, machine type (A or B), and the three median results mentioned above.
Test standard ISO 3385 Applications:
Furniture Industry: Evaluate foam durability for sofas, chairs, and mattresses.
Automotive Sector: Test seat foams for passenger comfort and long-term performance.
Bedding & Packaging: Assess fatigue resistance of flexible foam in load-bearing applications.
Material R&D: Compare fatigue performance of different foam formulations (polyurethane, latex).
Quality Control: Ensure foam products meet durability specifications for load-bearing use.
Related Test Standard:
| ISO 1856 | Flexible cellular polymeric materials - Determination of compression set |
| ASTM D3574 | Standard Test Methods for Flexible Cellular Materials—Slab, Bonded, and Molded Urethane Foams. ASTM D3574 I3 is equivalent fatigue testing as ISO 3385. |
| ISO 3386-1 | Polymeric materials, cellular flexible -- Determination of stress-strain characteristics in compression -- Part 1: Low-density materials |
| ISO 2439 | Flexible cellular polymeric materials - Determination of hardness (indentation technique). |
Related Standard
ISO 7231 test standard specifies two methods for determining the air flow value of flexible cellular polymeric materials:
— method A, for conventional types of flexible cellular polymeric material;
— method B, for all types of flexible cellular polymeric material, but especially for materials with a low permeability to air.
For method B, two methods are specified in this document:
— method B1: with manual measurement;
— method B2: with automatic measurement.
FAQ: ISO 3385 - Constant-Load Pounding Fatigue Test for Flexible Cellular Materials
Q1: What is the core purpose of ISO 3385?
A: ISO 3385 standardizes a constant-load pounding fatigue test to measure thickness loss and indentation hardness loss of flexible foams after cyclic loading, evaluating their long-term durability under repeated compressive stress.
Q2: Which materials does ISO 3385 apply to?
A: It mainly applies to flexible cellular polymeric materials, especially polyurethane foams and latex foams used in load-bearing applications like furniture, automotive seats, and mattresses.
Q3: Why is ISO 3385 test important for foam materials?
A:Predicts the service life and anti-sagging performance of foams in actual use.
Provides a unified global benchmark for material comparison and quality control.
Helps manufacturers optimize foam formulations and avoid premature product failure.
Meets regulatory and customer requirements for seating and bedding durability.
Q4: Can ISO 3385 replace compression set tests (ISO 3386‑1)?
A: No. ISO 3385 tests dynamic fatigue under repeated loading, while ISO 3386‑1 measures static compression set. They reflect different deformation behaviors and are complementary.
Q5: What happens if a foam fails the ISO 3385 test?
A: High thickness/hardness loss indicates poor fatigue resistance; the foam will sag quickly in seating/bedding, leading to poor comfort, shorter product life, and rejection by buyers or standards.
Q6: How do the results relate to real-world performance?
A: The standard is explicit (Clause 1, Scope): The measured losses are related to, but are not necessarily the same as, the losses likely to occur in actual service. It is a comparative laboratory assessment, not a direct prediction of a product's exact lifespan. A foam with lower thickness and hardness loss in this test is generally expected to be more durable in real-world cushioning applications.
Require More Customized Solutions?