Information on the most widely used ASTM standards within the materials testing industry
ISO 1133: Plastics -- Determination of the melt mass-flow rate (MFR) and the melt volume-flow rate (MVR) of thermoplastics.
ISO 1133 standard specifies two procedures for the determination of the melt mass-flow rate (MFR) and the melt volume-flow rate (MVR) of thermoplastic materials under specified conditions of temperature and load. One is a mass-measurement method. The other is a displacement-measurement method. Normally, the test conditions for measurement of melt flow rate are specified in the material standard with a reference to ISO 1133. The test conditions normally used for thermoplastics are listed in annexes.
There two accurate ISO tests, primarily used for quality control and performed under specified temperature conditions, can be described as:
Procedure A – a mass-measurement method Or MFR.
Procedure B – a displacement-measurement method. Or MVR.
Melt volume flow rate testing is particularly useful when inspecting materials of different filler content and when comparing filled, with unfilled, thermoplastics. Mass flow rate testing can be determined from melt volume flow rate testing measurements, or vice versa, provided the melt density at the test temperature is known.
The thermoplastics materials industry uses the Melt Flow Index (MFI) as a basic tool for quality control and acceptance of incoming products. The measure of the flow properties is contained on the identity card, and is used as a check to verify if the plastic's grade is within the required fluidity range. This is commonly used for polyolefins (polyethylene HDPE, LDPE, LLDPE, and polypropylene PP).
![]() | ![]() |
Test Specimen Information:
Material: Thermoplastic polymer (granules, powder, or pieces)
Moisture‑sensitive materials must be pre‑dried
No heavy contamination, voids, or excessive degradation
Typical sample mass: 3–5 g per test.
The melt flow index (MFI) is a measure of the ease of flow of the melt of a thermoplastic polymer. It is defined as the mass of polymer, in grams, flowing in ten minutes through a capillary of a specific diameter and length by a pressure applied via prescribed alternative gravimetric weights for alternative prescribed temperatures.Polymer processors usually correlate the value of MFI with the polymer grade that they have to choose for different processes, and most often this value is not accompanied by the units, because it is taken for granted to be g/10min. Similarly, the test load conditions of MFI measurement is normally expressed in kilograms rather than any other units. Originally called Melt Flow Index or Melt Index (typically for polyethylene, but applied to a variety of materials), the standard designation today is Melt Mass-Flow Rate or MFR, which is a mass flow expressed in g/10min. An alternative quantity is the volume flow expressed in cm3/10min, called Melt Volume-Flow Rate or MVR. MVR multiplied by the melt density (i.e. density of the material in the melted state) gives MFR.
Melt flow rate is very commonly used for polyolefins, polyethylene being measured at 190 °C and polypropylene at 230 °C. The plastics engineer should choose a material with a melt index high enough that the molten polymer can be easily formed into the article intended, but low enough that the mechanical strength of the final article will be sufficient for its use.
Melt Flow Index is a very valuable test for quality assurance.
1, Raw material certification
2, Comparison of "good" and "bad" samples
3, Batch to batch comparisons
4, Grade differentiation of materials
5, Determination of the nature of material degradation (processing, transportation, storage, and drying conditions)
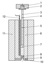
Test principle of ISO 1133:
The polymer is heated in the cylinder to a standard molten state.
A constant load pushes the melt through a precision die.
The extruded mass or volume over a fixed time is measured.
MFR and MVR reflect melt flowability / molecular weight:
Higher MFR/MVR = lower viscosity, easier flow, lower molecular weight
Lower MFR/MVR = higher viscosity, higher molecular weight, better mechanical properties.
Test Equipment for ISO 1133:
Recommend the UnitedTest Melt Flow Indexer (MFI tester):
Cylinder with precision bore
Standard die (orifice):

Die length: 8.000 ± 0.025 mm
Die diameter: 2.095 ± 0.005 mm
Weight piston and standard weights
Temperature control system (±0.2 °C)
Timing device
Cutting device and balance for mass measurement.
Related test standard for ISO 1133:
| ISO 1133-2 | Plastics - Determination of the melt mass-flow rate (MFR) and melt volume-flow rate (MVR) of thermoplastics - Part 2: Method for materials sensitive to time-temperature history and/or moisture |
| ISO 1133-1 | Plastics - Determination of the melt mass-flow rate (MFR) and melt volume-flow rate (MVR) of thermoplastics - Part 1: Standard method |
| ASTM D1238 | Standard Test Method for Melt Flow Rates of Thermoplastics by Extrusion Plastometer |
Frequently Asked Questions (FAQs) about the ISO 1133 Melt Flow Test:
Q1: What's the difference between MFR and MVR? Which one should I use?
A: MFR (Melt Mass-Flow Rate) is measured by cutting and weighing the extrudate (Procedure A). MVR (Melt Volume-Flow Rate) is measured by the piston displacement (Procedure B). MVR is generally faster, more automated, and allows calculation of melt density. For basic QC and grade checking, MFR is most common. MVR is preferred for more precise rheological data.
Q2: Is ISO 1133 the same as ASTM D1238?
A: They are technically equivalent in principle and purpose, and conditions (Temp/Load) are harmonized. However, they are separate standards from different organizations (ISO vs. ASTM). There can be minor differences in prescribed procedures, tolerances, or purge times. It's essential to report which standard was used.
Q3: Why are my test results inconsistent or variable?
A: Common causes include:
Moisture: The #1 culprit for many polymers.
Temperature Fluctuations: The barrel temperature must be extremely stable (±0.2°C).
Packing & Procedure: Inconsistent filling of the barrel or variations in pre-heat time.
Material Degradation: Prolonged exposure to high temperature in the barrel can break down the polymer.
Die or Barrel Wear: A worn capillary die will give falsely high flow rates.
Q4: Can I use MFR to directly compare two different types of polymers?
A: No, not directly. You can only compare MFR values tested under identical conditions (Temperature and Load). Comparing the MFR of a PE grade (tested at 190°C/2.16 kg) to a PP grade (tested at 230°C/2.16 kg) is meaningless. Furthermore, MFR should not be used to compare polymers of different families (e.g., PE vs. PS) even at the same condition, as their melt rheology is fundamentally different.
Q5: Does a higher MFR always mean "better" processability?
A: Not necessarily. While a higher MFR material flows easier, it may be more prone to flash (leaking out of mold seams), weaker weld lines, or excessive drool in the nozzle. The "right" MFR is a balance for the specific process and part design. A thick-walled part might use a low MFR grade, while a thin-walled part needs a high MFR grade.
Q6: Why do we pre‑dry some materials before testing?
A: Moisture causes bubbles and degradation during melting, leading to unstable, wrong MFR values.
Q7: Why do we discard the first extrudate?
A: The initial flow is unstable (air, uneven melting). Only the steady‑state extrudate is used for measurement.
Related products and device
Related Standard
ASTM D1238 Standard Test Method for Melt Flow Rates of Thermoplastics by Extrusion Plastometer
ASTM D1238 test method test method covers the determination of the rate of extrusion of molten thermoplastic resins using an extrusion plastometer. it is particularly useful for quality control tests on thermoplastics. The data produced by ASTM D1238 test serves to indicate the uniformity of the flow rate of the polymer as made by an individual process. It is not to be used as an indication of uniformity of other properties without valid correlation with data from other tests.
ASTM D3364: Standard Test Method for Flow Rates for Poly(Vinyl Chloride) with Molecular Structural Implications
ASTM D3364 test method is an extension of Test Method D1238 specific to the measurement of flow rates of poly(vinyl chloride) (PVC) compounds while detecting and controlling various polymer instabilities associated with the flow rate. it is useful for quality-control tests on PVC compounds having a wide range of melt viscosities. Measurements are made at shear rates close to 1 s−1.
Common Melt Flow Rate Conditions by Material
| Material | Condition |
| PS | 200/5.00 |
| PE | 190/2.16 |
| 190/0.325 | |
| 190/21.60 | |
| 190/5.00 | |
| PP | 230/2.16 |
| ABS | 220/10.00 |
| PS-I | 200/5.00 |
| E/VAC | 150/2.16 |
| 190/2.16 | |
| 125/0.325 | |
| SAN | 220/10.00 |
| ASA, ACS, AES | 220/10.00 |
| PC | 300/1.20 |
| PMMA | 230/3.80 |
| PB | 190/2.16 |
| PB | 190/10.00 |
| POM | 190/2.16 |
| MABS | 220/10.00 |
Require More Customized Solutions?