Information on the most widely used ASTM standards within the materials testing industry
ASTM D2843: Standard Test Method for Density of Smoke from the Burning or Decomposition of Plastics
This fire test response test method covers a laboratory procedure for measuring and observing the relative amounts of smoke obscuration produced by the burning or decomposition of plastics. It is intended to be used for measuring the smoke-producing characteristics of plastics under controlled conditions of combustion or decomposition.
![]() | ![]() |
Applicable products: Plastic material
Testing procedure: During the 4-minute testing period, test samples are exposed to flame, and the resulting smoke is primarily contained within the test chamber. The transverse light absorption was measured through the beam path of a photodiode, and the condition of the smoke chamber was observed.
Test results: There are two indicators used to evaluate the materials: maximum smoke generated and smoke density rating.
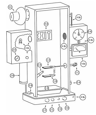
Smoke density testing equipment structure:
Divided into two main parts: 1, the smoke chamber and 2, the control section;
Smoke chamber section: On the left and right side panels of the smoke chamber, there are the power switch, safety symbol switch (backlight switch), gas adjustment device, and also the switch for controlling the exhaust fan (fan switch).

Fire test response test, Smoke Density Test of the building materials
The smoke density test for building materials is a specialized ing, based on the national standard GB/T8627-2007 "Test Methods for Smoke Density of Building Materials during Combustion or Decomposition." , ASTM D2843 Standard Test Method for Density of Smoke from the Burning or Decomposition of Plastics.
It is primarily used for measuring the static smoke production of burning building materials and their products. This instrument adopts a dual control mode with a touch screen and computer, and is equipped with automatic ignition, timing, and smoke extraction functions. It measures the degree of attenuation of combustion smoke on the light source using a silicon photodiode sensor, covering a measurement range of 0-100% smoke density values, with an accuracy of ±3%. The equipment is widely used in evaluating the flame retardancy of building insulation materials, particularly for testing the flame retardant properties of extruded polystyrene boards, polystyrene boards, and other materials.
Principle of Functioning
Smoke is produced by burning test samples using this lamp, and the optical system measures the attenuation of luminous flux: The burner works at a pressure of 276KPa to provide a stable flame, with the main burner fixed at a 45° angle to the smoke box.
The light source system uses a 15W bulb to emit a beam, which is converted into an electrical signal by a silicon photodetector.
The concentration of smoke is calculated based on the percentage of luminous flux loss.
Structure and Function
Smoke box section: includes power switch, gas adjustment device, and safety indicator switch; testing should be conducted in a fume hood to avoid interference from air flow.
Control section: supports dual control methods of touch screen or computer, with automatic smoke exhaust, automatic timing, and automatic ignition functions.
Automated design: test data can be saved and retrieved, and experimental results directly generate standardized record files.
Applicable scope: Determination of static smoke production of building materials and their products, solid materials.
Standard evolution: As of 2025, GB/T8627-2007 has replaced the 1999 version as the main reference standard, while also being compatible with ASTM D2843 international standard.
Usage conditions:
Environmental requirements: Relative humidity ≤ 85%,
power supply voltage 220V ± 10%, requires propane fuel with purity ≥ 85%.
Safety regulations: After 90 minutes of testing, the gas source should be shut off to cool the instrument for 15 minutes, and exhaust gases should be cleared by the exhaust system after testing.
Require More Customized Solutions?