Information on the most widely used ASTM standards within the materials testing industry
ASTM D2444 : Standard Test Method for Determination of the Impact Resistance of Thermoplastic Pipe and Fittings by Means of a Tup (Falling Weight)
ASTM D2444 test method covers the determination of the impact resistance of thermoplastic pipe and fittings under specified conditions of impact by means of a tup (falling weight). Three interchangeable striking noses are used on the tup, differing in geometrical configuration. Two specimen holders are described. The mass of the tup shall be 6, 12, 20 or 30 lbs (2.7, 5.4, 9.1, or 13.6 kg) and shall fall from a maximum height of at least 10 ft (3.0 m) and a minimum of 2 ft (0.6 m).
ASTM D2444 specifies a method for the determination of the resistance to external blows of thermoplastics pipes of circular cross-section; it is called the round-the-clock method.
This method is applicable to isolated batches of pipe tested at 0 °C (information is also given for sampling from the continuous production of pipe).
Test pieces are subjected to blows from a falling striker, of specified mass and shape, dropped from a known height onto specified positions around the circumference of the test piece. The true impact rate of the batch, or production run from an extruder, is estimated.
Commonly the impact height 2000mm, impact hammer 6.3kg, 9.1kg, 13.6kg.
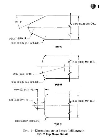
There are three interchangeable inserts for the tup:
| Type A is a cone with a rounded point |
| Type B is a cylinder with a relatively flat surface |
| Type C has a 0.5" diameter “pin” with a rounded end |

Two specimen supports (either a V-block or a Flat Plate) are defined in the standard. The combination of test variables which offers reasonably repeatable results with the test being easy to run with little or no hazard to personnel is the one that should be used.
The impact resistance of thermoplastic pipe and fittings relates to suitability for service and to quality of processing. Impact resistance may also provide a relative measure of a material's resistance to breakage during handling and installation and, for non-buried applications, to in-service breakage.
Results obtained by use of this test method can be used in three ways:
As the basis for establishing impact test requirements in product standards;
To measure the effect of changes in materials or processing;
To measure the effect of the environment.

Falling hammer impact is used to determine the energy required to break or rupture test specimens such as pipe, sheet, laminates, composites, ceramics, and nonferrous metals for material and component evaluation to international testing methods such as ISO6603, ISO3127, ASTMD2444, and UL 651 to name a few.
Round the Clock Method – Lengths of pipe from a batch or production run are subjected to blows from a known mass that falls from a specified height as per test standards ISO3127 & EN744.
Staircase Method – Lengths of pipe are subjected to blows from a known mass and shape but is dropped from differing heights depending on the results of each blow as per test standard EN1411.
Related Standard
ISO 3127 Thermoplastics pipes -- Determination of resistance to external blows -- Round-the-clock method
ISO 3127 specifies a method for the determination of the resistance to external blows of thermoplastics pipes of circular cross-section; it is called the round-the-clock method.
It is applicable to isolated batches of pipe tested at 0 °C (information is also given for sampling from the continuous production of pipe).
Test pieces are subjected to blows from a falling striker, of specified mass and shape, dropped from a known height onto specified positions around the circumference of the test piece. The true impact rate of the batch, or production run from an extruder, is estimated.
Commonly the impact height 2000mm, impact hammer 6.3kg, 9.1kg, 13.6kg.
ISO 7765-1:1988 Plastics film and sheeting — Determination of impact resistance by the free-falling dart method
Part 1: Staircase methods
ISO 7765-1 and ASTM D1709 specifies methods for the determination of the energy, that causes plastics films and sheet less than 1 mm in thickness to fail under specified conditions of impact of a free falling dart from a specified height, that would result in failure of 50 % of the specimens tested. Two methods are described. Method A employs a dart with 38 mm diameter hemispherical head, dropped from a height of 0,66 m, and method B employs a dart with a 50 mm diameter hemispherical head dropped from a height of 1,50 m. The measurement technique is the staircase method.
Drop Dart Impact Resistance of Plastic Film ASTM D1709, ISO 7765
Require More Customized Solutions?